О внесении изменений в приказ исполняющего обязанности Министра по инвестициям и развитию Республики Казахстан от 28 мая 2015 года № 619 «Об утверждении регламентов государственных услуг в области промышленности и экспортного контроля»

Приказ Министра индустрии и инфраструктурного развития Республики Казахстан от 18 марта 2019 года № 138

ПРИКАЗЫВАЮ:

1. Внести в приказ исполняющего обязанности Министра по инвестициям и развитию Республики Казахстан от 28 мая 2015 года № 619 «Об утверждении регламентов государственных услуг в области промышленности и экспортного контроля» (зарегистрирован в Реестре государственной регистрации нормативных правовых актов за № 11630, опубликован 7 августа 2015 года в информационно-правовой системе «Әділет») следующие изменения:

пункт 1 изложить в следующей редакции:

«1. Утвердить:

1) регламент государственной услуги «Выдача лицензии на осуществление деятельности по разработке, производству, приобретению, реализации, хранению взрывчатых и пиротехнических (за исключением гражданских) веществ и изделий с их применением» согласно приложению 1 к настоящему приказу;

2) регламент государственной услуги «Выдача лицензии на осуществление деятельности по эксплуатации горных и химических производств» согласно приложению 2 к настоящему приказу;

3) регламент государственной услуги «Выдача разрешения на транзит продукции, подлежащей экспортному контролю» согласно приложению 3 к настоящему приказу;

4) регламент государственной услуги «Выдача лицензии на осуществление деятельности по производству, переработке, приобретению, хранению, реализации, использованию, уничтожению ядов» согласно приложению 4 к настоящему приказу;

5) регламент государственной услуги «Выдача лицензии на импорт и (или) экспорт отдельных видов товаров» согласно приложению 5 к настоящему приказу;

6) регламент государственной услуги «Выдача лицензии на экспорт и импорт продукции, подлежащей экспортному контролю» согласно приложению 6 к настоящему приказу;

7) регламент государственной услуги «Выдача разрешения на переработку продукции вне территории Республики Казахстан» согласно приложению 7 к настоящему приказу;

8) регламент государственной услуги «Выдача разрешения на реэкспорт продукции, подлежащей экспортному контролю» согласно приложению 8 к настоящему приказу;

9) регламент государственной услуги «Выдача гарантийного обязательства (сертификата конечного пользователя)» согласно приложению 9 к настоящему приказу;

10) регламент государственной услуги «Выдача заключения об отнесении товаров, технологий, работ, услуг, информации к продукции, подлежащей экспортному контролю» согласно приложению 10 к настоящему приказу.»;

приложения 1, 2, 3, 4, 5, 6, 7, 8, 9, 10 к указанному приказу изложить в редакции согласно приложениям 1, 2, 3, 4, 5, 6, 7, 8, 9, 10 к настоящему приказу.

2. Комитету индустриального развития и промышленной безопасности Министерства индустрии и инфраструктурного развития Республики Казахстан в установленном законодательством порядке обеспечить:

1) государственную регистрацию настоящего приказа в Министерстве юстиции Республики Казахстан;

2) в течение десяти календарных дней со дня государственной регистрации настоящего приказа направление на казахском и русском языках в Республиканское государственное предприятие на праве хозяйственного ведения «Республиканский центр правовой информации» для официального опубликования и включения в Эталонный контрольный банк нормативных правовых актов Республики Казахстан;

3) размещение настоящего приказа на интернет-ресурсе Министерства индустрии и инфраструктурного развития Республики Казахстан.

3. Контроль за исполнением настоящего приказа возложить на курирующего вице-министра индустрии и инфраструктурного развития Республики Казахстан.

4. Настоящий приказ вводится в действие по истечении десяти календарных дней после его первого официального опубликования.

Министр индустрии и инфраструктурного развития
Республики Казахстан

 

Р. Скляр

 

Приложение 1

к приказу Министра индустрии
и инфраструктурного развития
Республики Казахстан
от 18 марта 2019 года № 138

Приложение 1
к приказу исполняющего
обязанности Министра
по инвестициям и развитию
Республики Казахстан
от 28 мая 2015 года № 619


Регламент государственной услуги
«Выдача лицензии на осуществление деятельности по разработке, производству, приобретению,
реализации, хранению взрывчатых и пиротехнических
(за исключением гражданских) веществ и изделий с их применением»

Глава 1. Общие положения

1. Государственная услуга оказывается Комитетом индустриального развития и промышленной безопасности Министерства индустрии инфраструктурного развития Республики Казахстан (далее - услугодатель), в том числе через веб-портал «электронного правительства» www.egov.kz или веб-портал «Е-лицензирование»: www.elicense.kz (далее - Портал).

2. Форма оказания государственной услуги - электронная.

3. Результат оказания государственной услуги - лицензия и (или) приложение к лицензии, переоформленная лицензия и (или) приложение к лицензии, дубликат лицензии и (или) приложения к лицензии на осуществление деятельности по разработке, производству, приобретению, реализации, хранению взрывчатых и пиротехнических (за исключением гражданских) веществ и изделий с их применением, либо письменный мотивированный ответ об отказе в оказании государственной услуги в случаях и по основаниям, предусмотренным пунктом 10 стандарта государственной услуги «Выдача лицензии на осуществление деятельности по разработке, производству, приобретению, реализации, хранению взрывчатых и пиротехнических (за исключением гражданских) веществ и изделий с их применением», утвержденного приказом Министра по инвестициям и развитию Республики Казахстан от 30 апреля 2015 года № 563 (зарегистрирован в Реестре государственной регистрации нормативных правовых актов за № 11636) (далее - Стандарт).

Форма предоставления результата оказания государственной услуги: электронная.

 

 

Глава 2. Описание порядка действий структурных подразделений

(работников) услугодателя в процессе оказания государственной услуги

4. Основанием для начала процедуры (действия) по оказанию государственной услуги является получение услугодателем представленных услугополучателем документов, предусмотренных пунктом 9 стандарта.

5. Содержание каждой процедуры (действия), входящей в состав процесса оказания государственной услуги и длительность его выполнения:

1) при выдаче лицензии и (или) приложения к лицензии, а также переоформлении лицензии и (или) приложения к лицензии в случае реорганизации услугополучателя в форме выделения или разделения:

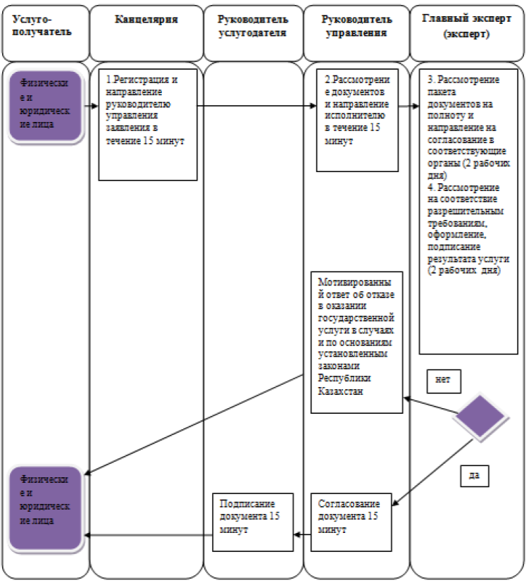
специалист канцелярии услугодателя в течение 15 минут регистрирует на портале заявление услугополучателя и направляет их руководителю Управления экспортного контроля и лицензирования (далее - Управление);

руководитель Управления в течение 15 минут рассматривает заявление и направляет для исполнения главному эксперту (эксперту) Управления;

главный эксперт (эксперт) Управления проверяет пакет представленных документов в соответствии с пунктом 9 Стандарта:

в случае если услугополучателем представлен не полный пакет документов, необходимых для оказания государственной услуги, в срок не более 2 рабочих дней со дня получения представленных документов услугодателю, оформляет мотивированный отказ в дальнейшем рассмотрении заявления;

в случае если услугополучателем представлен полный пакет документов, необходимых для оказания государственной услуги, в срок не более 2 рабочих дней со дня получения представленных документов услугодателю, направляет запрос в соответствующие государственные органы для получения согласования;

главный эксперт (эксперт) Управления, в срок 12 рабочих дней рассматривает документы услугополучателя, необходимых для оказания государственной услуги, на его соответствие условиям выдачи лицензии и (или) приложения к лицензии, переоформления лицензии и (или) приложения к лицензии в случае реорганизации услугополучателя в форме выделения или разделения, подготавливает и вносит результат оказания государственной услуги на предварительное согласование руководителю Управления;

руководитель Управления в течение 15 минут согласовывает результат оказания государственной услуги;

руководитель услугодателя в течение 15 минут после согласования руководителя Управления подписывает результат оказания государственной услуги;

2) при выдаче переоформленной лицензии и (или) приложения к лицензии:

специалист канцелярии услугодателя в течение 15 минут регистрирует на портале заявление услугополучателя и направляет их руководителю Управления экспортного контроля и лицензирования (далее - Управление);

руководитель Управления в течение 15 минут рассматривает заявление и направляет для исполнения главному эксперту (эксперту) Управления;

главный эксперт (эксперт) Управления проверяет пакет представленных документов в соответствии с пунктом 9 Стандарта:

в случае если услугополучателем представлен не полный пакет документов, необходимых для оказания государственной услуги, в срок не более 2 рабочих дней со дня получения представленных документов услугодателю, оформляет мотивированный отказ в дальнейшем рассмотрении заявления;

в случае если услугополучателем представлен полный пакет документов, в срок 2 рабочих дней рассматривает документы услугополучателя, необходимых для оказания государственной услуги, на его соответствие условиям выдачи лицензии и (или) приложения к лицензии, подготавливает и вносит результат оказания государственной услуги на предварительное согласование руководителю Управления;

руководитель Управления в течение 15 минут согласовывает результат оказания государственной услуги;

руководитель услугодателя в течение 15 минут после согласования руководителя Управления подписывает результат оказания государственной услуги;

3) при выдаче дубликата лицензии и (или) приложения к лицензии:

специалист канцелярии услугодателя в течение 15 минут регистрирует на портале заявление услугополучателя и направляет их руководителю Управления экспортного контроля и лицензирования (далее - Управление);

руководитель Управления в течение 15 минут рассматривает заявление и направляет для исполнения главному эксперту (эксперту) Управления;

главный эксперт (эксперт) Управления проверяет пакет представленных документов в соответствии с пунктом 9 Стандарта:

в случае если услугополучателем представлен полный пакет документов, в срок 1 рабочего дня рассматривает документы услугополучателя, необходимых для оказания государственной услуги, на его соответствие условиям выдачи дубликата лицензии и (или) приложения к лицензии, подготавливает и вносит результат оказания государственной услуги на предварительное согласование руководителю Управления;

руководитель Управления в течение 15 минут согласовывает результат оказания государственной услуги;

руководитель услугодателя в течение 15 минут после согласования руководителя Управления подписывает результат оказания государственной услуги.

6. Результат процедуры (действия) по оказанию государственной услуги, который служит основанием для начала выполнения следующей процедуры (действия):

1) регистрация представленного заявления услугополучателя, необходимого для оказания государственной услуги, специалистом канцелярии услугодателя на портале и направление его руководителю Управления;

2) назначение задачи руководителем Управления главному эксперту (эксперту) Управления;

3) оформление главным экспертом (экспертом) Управления лицензии и (или) приложения к лицензии, переоформления лицензии и (или) приложения к лицензии и передача его для подписания руководителю услугодателя;

4) выдача лицензии и (или) приложения к лицензии, переоформление, дубликат лицензии и (или) приложения к лицензии услугополучателю.

 

 

Глава 3. Описание порядка взаимодействия структурных
подразделений (работников) услугодателя в процессе оказания
государственной услуги

7. Перечень структурных подразделений (работников) услугодателя, которые участвуют в процедуре оказания государственной услуги:

1) специалист канцелярии услугодателя;

2) руководитель услугодателя;

3) руководитель Управления;

4) главный эксперт (эксперт).

8. Описание последовательности процедур (действий) между структурными подразделениями (работниками) услугодателя:

1) при выдаче лицензии и (или) приложения к лицензии, а также переоформлении лицензии и (или) приложения к лицензии в случае реорганизации услугополучателя в форме выделения или разделения:

специалист канцелярии услугодателя в течение 15 минут регистрирует на портале заявление услугополучателя и направляет их руководителю Управления экспортного контроля и лицензирования (далее - Управление);

руководитель Управления в течение 15 минут рассматривает заявление и направляет для исполнения главному эксперту (эксперту) Управления;

главный эксперт (эксперт) Управления проверяет пакет представленных документов в соответствии с пунктом 9 Стандарта:

в случае если услугополучателем представлен не полный пакет документов, необходимых для оказания государственной услуги, в срок не более 2 рабочих дней со дня получения представленных документов услугодателю, оформляет мотивированный отказ в дальнейшем рассмотрении заявления;

в случае если услугополучателем представлен полный пакет документов, необходимых для оказания государственной услуги, в срок не более 2 рабочих дней со дня получения представленных документов услугодателю, направляет запрос в соответствующие государственные органы для получения согласования;

главный эксперт (эксперт) Управления, в срок 12 рабочих дней рассматривает документы услугополучателя, необходимых для оказания государственной услуги, на его соответствие условиям выдачи лицензии и (или) приложения к лицензии, переоформления лицензии и (или) приложения к лицензии в случае реорганизации услугополучателя в форме выделения или разделения, подготавливает и вносит результат оказания государственной услуги на предварительное согласование руководителю Управления;

руководитель Управления в течение 15 минут согласовывает результат оказания государственной услуги;

руководитель услугодателя в течение 15 минут после согласования руководителя Управления подписывает результат оказания государственной услуги;

2) при выдаче переоформленной лицензии и (или) приложения к лицензии:

специалист канцелярии услугодателя в течение 15 минут регистрирует на портале заявление услугополучателя и направляет их руководителю Управления экспортного контроля и лицензирования (далее - Управление);

руководитель Управления в течение 15 минут рассматривает заявление и направляет для исполнения главному эксперту (эксперту) Управления;

главный эксперт (эксперт) Управления проверяет пакет представленных документов в соответствии с пунктом 9 Стандарта:

в случае если услугополучателем представлен не полный пакет документов, необходимых для оказания государственной услуги, в срок не более 2 рабочих дней со дня получения представленных документов услугодателю, оформляет мотивированный отказ в дальнейшем рассмотрении заявления;

в случае если услугополучателем представлен полный пакет документов, в срок 2 рабочих дней рассматривает документы услугополучателя, необходимых для оказания государственной услуги, на его соответствие условиям выдачи лицензии и (или) приложения к лицензии, подготавливает и вносит результат оказания государственной услуги на предварительное согласование руководителю Управления;

руководитель Управления в течение 15 минут согласовывает результат оказания государственной услуги;

руководитель услугодателя в течение 15 минут после согласования руководителя Управления подписывает результат оказания государственной услуги;

3) при выдаче дубликата лицензии и (или) приложения к лицензии:

специалист канцелярии услугодателя в течение 15 минут регистрирует на портале заявление услугополучателя и направляет их руководителю Управления экспортного контроля и лицензирования (далее - Управление);

руководитель Управления в течение 15 минут рассматривает заявление и направляет для исполнения главному эксперту (эксперту) Управления;

главный эксперт (эксперт) Управления проверяет пакет представленных документов в соответствии с пунктом 9 Стандарта:

в случае если услугополучателем представлен полный пакет документов, в срок 1 рабочего дня рассматривает документы услугополучателя, необходимых для оказания государственной услуги, на его соответствие условиям выдачи дубликата лицензии и (или) приложения к лицензии, подготавливает и вносит результат оказания государственной услуги на предварительное согласование руководителю Управления;

руководитель Управления в течение 15 минут согласовывает результат оказания государственной услуги;

руководитель услугодателя в течение 15 минут после согласования руководителя Управления подписывает результат оказания государственной услуги.

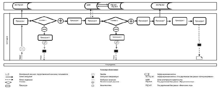
9. Описание последовательности процедур (действий) между структурными подразделениями (работниками) услугодателя приведены в блок-схеме взаимодействия структурных подразделений (работников) услугодателя согласно приложению 1 к настоящему Регламенту государственной услуги «Выдача лицензии на осуществление деятельности по разработке, производству, приобретению, реализации, хранению взрывчатых и пиротехнических (за исключением гражданских) веществ и изделий с их применением».

 

 

Глава 4. Описание порядка использования информационных систем
в процессе оказания государственной услуги

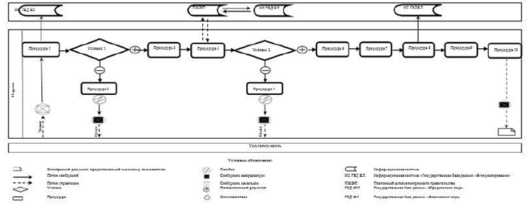
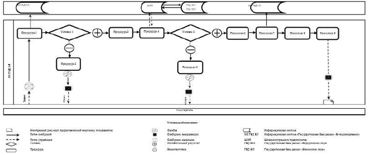
10. Описание порядка обращения и последовательности процедур (действий) услугодателя и услугополучателя при оказании государственной услуги через Портал.

1) описание последовательности процедур (действий) услугодателя:

процедура 1 - ввод сотрудником услугодателя логина и пароля (процедура авторизации) в информационной системе «Государственная база данных «Е-лицензирование» (далее -ИС ГБД ЕЛ) для оказания государственной услуги;

условие 1 - проверка в ИС ГБД ЕЛ подлинности данных о зарегистрированном сотруднике услугодателя через логин и пароль;

процедура 2 - формирование ИС ГБД ЕЛ сообщения об отказе в авторизации в связи с имеющимися нарушениями в данных сотрудника услугодателя;

процедура 3 - выбор сотрудником услугодателя услуги, указанной в настоящем регламенте, вывод на экран формы запроса для оказания услуги и ввод сотрудником услугодателя данных услугополучателя;

процедура 4 - направление запроса через шлюз электронного правительства в государственную базу данных «Юридические лица» (далее - ГБД ЮЛ) или государственную базу данных «Физические лица» (далее - ГБД ФЛ) о данных услугополучателя;

условие 2 - проверка наличия данных услугополучателя в ГБД ЮЛ/ГБД ФЛ;

процедура 5 - формирование сообщения о невозможности получения данных в связи с отсутствием данных услугополучателя в ГБД ЮЛ/ГБД ФЛ;

процедура 6 - заполнение формы запроса в части отметки о наличии документов в бумажной форме;

процедура 7 - регистрация запроса в ИС ГБД ЕЛ и обработка услуги в ИС ГБД ЕЛ;

процедура 8 - проверка услугодателем соответствия услугополучателя условиям выдачи/переоформления лицензии и (или) приложения к лицензии, а также предъявляемым квалификационным требованиям;

процедура 9 - получение услугополучателем результата оказания государственной услуги, сформированной ИС ГБД ЕЛ;

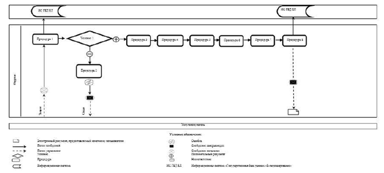
2) описание порядка обращения и последовательности процедур (действий) услугополучателя:

процедура 1 - ввод услугополучателем пароля (процедура авторизации) на Портале для получения государственной услуги;

условие 1 - проверка на Портале подлинности данных о зарегистрированном услугополучателе через логин (индивидуальный идентификационный номер/бизнес-идентификационный номер) и пароль;

процедура 2 - формирование Порталом сообщения об отказе в авторизации в связи с имеющимися нарушениями в данных услугополучателя;

процедура 3 - выбор услугополучателем услуги, указанной в настоящем регламенте, вывод на экран формы запроса для оказания услуги и заполнение услугополучателем формы (ввод данных) с учетом ее структуры и форматных требований, прикреплением к форме запроса необходимых документов в электронном виде;

процедура 4 - оплата услуги посредством платежного шлюза электронного правительства, а затем эта информация поступает в ИС ГБД ЕЛ;

условие 2 - проверка в ИС ГБД ЕЛ факта оплаты за оказание государственной услуги;

процедура 5 - формирование сообщения об отказе в запрашиваемой государственной услуге, в связи с отсутствием оплаты за оказание услуги в ИС ГБД ЕЛ;

процедура 6 - выбор услугополучателем регистрационного свидетельства электронной цифровой подписи (далее - ЭЦП) для удостоверения (подписания) запроса;

процедура 7 - удостоверение (подписание) посредством ЭЦП услугополучателя заполненной формы (введенных данных) запроса на оказание услуги;

процедура 8 - регистрация электронного документа (запроса услугополучателя) в ИС ГБД ЕЛ и обработка запроса в ИС ГБД ЕЛ;

процедура 9 - проверка услугодателем соответствия услугополучателя условиям выдачи/переоформления лицензии и (или) приложения к лицензии, а также предъявляемым квалификационным требованиям;

процедура 10 - получение услугополучателем результата оказания государственной услуги, сформированного ИС ГБД ЕЛ.

Диаграмма функционального взаимодействия информационных систем, задействованных в оказании государственной услуги через услугодателя, и диаграмма функционального взаимодействия информационных систем, задействованных в оказании государственной услуги через услугополучателя, приведены в приложениях 2, 3 к настоящему регламенту.

 

Приложение 1
к регламенту государственной услуги
«Выдача лицензии на осуществление
деятельности по разработке,
производству, приобретению,
реализации, хранению взрывчатых
и пиротехнических (за исключением
гражданских) веществ и изделий
с их применением»

 

 

Справочник последовательности процедур (действий) работников

 

 

Приложение 2
к регламенту государственной услуги
«Выдача лицензии на осуществление
деятельности по разработке,
производству, приобретению,
реализации, хранению взрывчатых
и пиротехнических (за исключением
гражданских) веществ и изделий
с их применением»

 

 

Диаграмма функционального взаимодействия информационных систем,

задействованных в оказании государственной услуги через услугодателя

 

 

Приложение 3
к регламенту государственной услуги
«Выдача лицензии на осуществление
деятельности по разработке,
производству, приобретению,
реализации, хранению взрывчатых
и пиротехнических (за исключением
гражданских) веществ и изделий
с их применением»

 

Диаграмма функционального взаимодействия информационных систем,

задействованных в оказании государственной услуги через услугополучателя

 

Приложение 2

к приказу Министра индустрии
и инфраструктурного развития
Республики Казахстан
от 18 марта 2019 года № 138

Приложение 2
к приказу исполняющего
обязанности Министра
по инвестициям и развитию
Республики Казахстан
от 28 мая 2015 года № 619

 

Регламент государственной услуги
«Выдача лицензии на осуществление деятельности
по эксплуатации горных и химических производств»

Глава 1. Общие положения

1. Государственная услуга оказывается Комитетом индустриального развития и промышленной безопасности Министерства индустрии и инфраструктурного развития Республики Казахстан (далее - услугодатель), в том числе через веб-портал «электронного правительства» www.egov.kz или веб-портал «Е-лицензирование»: www.elicense.kz (далее - Портал).

2. Форма оказания государственной услуги - электронная.

3. Результат оказания государственной услуги - лицензия и (или) приложение к лицензии, переоформленная лицензия и (или) приложение к лицензии на осуществление деятельности по эксплуатации горных и химических производств, либо мотивированный ответ об отказе в оказании государственной услуги.

Форма предоставления результата оказания государственной услуги: электронная.

 

 

Глава 2. Описание порядка действий структурных подразделений
(работников) услугодателя в процессе оказания государственной услуги

4. Основанием для начала процедуры (действия) по оказанию государственной услуги является получение услугодателем представленных услугополучателем документов, предусмотренных пунктом 9 Стандарта государственной услуги «Выдача лицензии на осуществление деятельности по эксплуатации горных и химических производств», утвержденного приказом Министра по инвестициям и развитию Республики Казахстан от 30 апреля 2015 года № 563 «Об утверждении стандартов государственных услуг в области промышленности и экспортного контроля» (зарегистрирован в Реестре государственной регистрации нормативных правовых актов за № 11636) (далее - Стандарт).

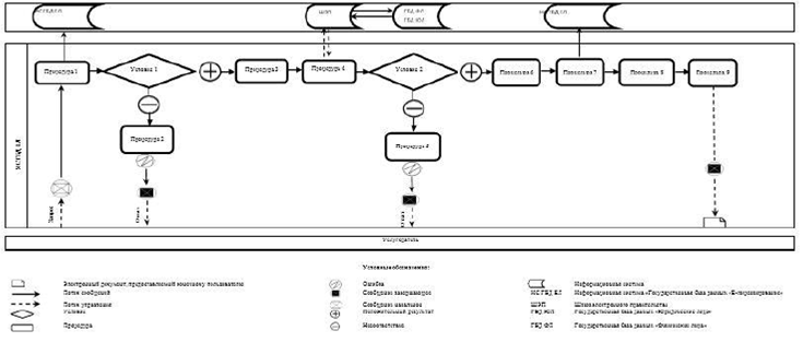
5. Содержание каждой процедуры (действия), входящей в состав процесса оказания государственной услуги и длительность его выполнения:

1) при выдаче лицензии и (или) приложения к лицензии, а также переоформлении лицензии и (или) приложения к лицензии в случае реорганизации услугополучателя в форме выделения или разделения:

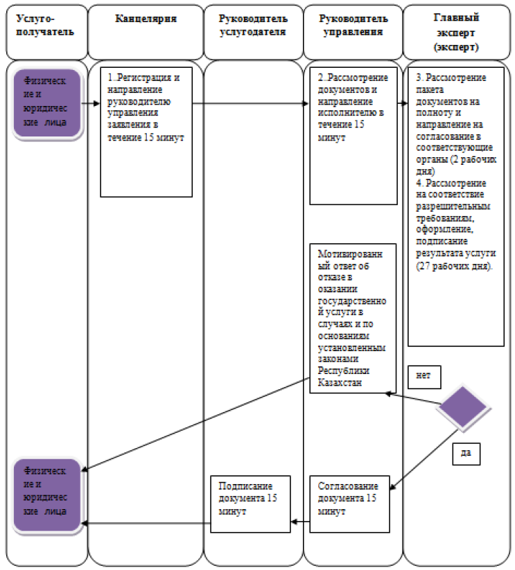
специалист канцелярии услугодателя в течение 15 минут регистрирует на портале заявление услугополучателя и направляет их руководителю Управления экспортного контроля и лицензирования (далее - Управление);

руководитель Управления в течение 15 минут рассматривает заявление и направляет для исполнения главному эксперту (эксперту) Управления;

главный эксперт (эксперт) Управления проверяет пакет представленных документов в соответствии с пунктом 9 Стандарта:

в случае если услугополучателем представлен не полный пакет документов, необходимых для оказания государственной услуги, в срок не более 2 рабочих дней со дня получения представленных документов услугодателю, оформляет мотивированный отказ в дальнейшем рассмотрении заявления;

в случае если услугополучателем представлен полный пакет документов, необходимых для оказания государственной услуги, в срок не более 2 рабочих дней со дня получения представленных документов услугодателю, направляет запрос в соответствующие государственные органы для получения согласования;

главный эксперт (эксперт) Управления, в срок 12 рабочих дней рассматривает документы услугополучателя, необходимых для оказания государственной услуги, на его соответствие условиям выдачи лицензии и (или) приложения к лицензии, переоформления лицензии и (или) приложения к лицензии в случае реорганизации услугополучателя в форме выделения или разделения, подготавливает и вносит результат оказания государственной услуги на предварительное согласование руководителю Управления;

руководитель Управления в течение 15 минут согласовывает результат оказания государственной услуги;

руководитель услугодателя в течение 15 минут после согласования руководителя Управления подписывает результат оказания государственной услуги;

2) при выдаче переоформленной лицензии и (или) приложения к лицензии:

специалист канцелярии услугодателя в течение 15 минут регистрирует на портале заявление услугополучателя и направляет их руководителю Управления экспортного контроля и лицензирования (далее - Управление);

руководитель Управления в течение 15 минут рассматривает заявление и направляет для исполнения главному эксперту (эксперту) Управления;

главный эксперт (эксперт) Управления проверяет пакет представленных документов в соответствии с пунктом 9 Стандарта:

в случае если услугополучателем представлен не полный пакет документов, необходимых для оказания государственной услуги, в срок не более 2 рабочих дней со дня получения представленных документов услугодателю, оформляет мотивированный отказ в дальнейшем рассмотрении заявления;

в случае если услугополучателем представлен полный пакет документов, в срок 2 рабочих дней рассматривает документы услугополучателя, необходимых для оказания государственной услуги, на его соответствие условиям выдачи лицензии и (или) приложения к лицензии, подготавливает и вносит результат оказания государственной услуги на предварительное согласование руководителю Управления;

руководитель Управления в течение 15 минут согласовывает результат оказания государственной услуги;

руководитель услугодателя в течение 15 минут после согласования руководителя Управления подписывает результат оказания государственной услуги.

6. Результат процедуры (действия) по оказанию государственной услуги, который служит основанием для начала выполнения следующей процедуры (действия):

1) регистрация представленного заявления услугополучателя, необходимого для оказания государственной услуги, специалистом канцелярии услугодателя на портале и направление его руководителю Управления;

2) назначение задачи руководителем Управления главному эксперту (эксперту) Управления;

3) оформление главным экспертом (экспертом) Управления лицензии и (или) приложения к лицензии, переоформления и передача его для подписания руководителю услугодателя;

4) переоформление, выдача лицензии и (или) приложения к лицензии услугополучателю.

 

 

Глава 3. Описание порядка взаимодействия структурных подразделений
(работников) услугодателя в процессе оказания государственной услуги

7. Перечень структурных подразделений (работников) услугодателя, которые участвуют в процедуре оказания государственной услуги:

1) специалист канцелярии услугодателя;

2) руководитель услугодателя;

3) руководитель Управления;

4) главный эксперт (эксперт).

8. Описание последовательности процедур (действий) между структурными подразделениями (работниками) услугодателя:

1) при выдаче лицензии и (или) приложения к лицензии, а также переоформлении лицензии и (или) приложения к лицензии в случае реорганизации услугополучателя в форме выделения или разделения:

специалист канцелярии услугодателя в течение 15 минут регистрирует на портале заявление услугополучателя и направляет их руководителю Управления экспортного контроля и лицензирования (далее - Управление);

руководитель Управления в течение 15 минут рассматривает заявление и направляет для исполнения главному эксперту (эксперту) Управления;

главный эксперт (эксперт) Управления проверяет пакет представленных документов в соответствии с пунктом 9 Стандарта:

в случае если услугополучателем представлен не полный пакет документов, необходимых для оказания государственной услуги, в срок не более 2 рабочих дней со дня получения представленных документов услугодателю, оформляет мотивированный отказ в дальнейшем рассмотрении заявления;

в случае если услугополучателем представлен полный пакет документов, необходимых для оказания государственной услуги, в срок не более 2 рабочих дней со дня получения представленных документов услугодателю, направляет запрос в соответствующие государственные органы для получения согласования;

главный эксперт (эксперт) Управления, в срок 12 рабочих дней рассматривает документы услугополучателя, необходимых для оказания государственной услуги, на его соответствие условиям выдачи лицензии и (или) приложения к лицензии, переоформления лицензии и (или) приложения к лицензии в случае реорганизации услугополучателя в форме выделения или разделения, подготавливает и вносит результат оказания государственной услуги на предварительное согласование руководителю Управления;

руководитель Управления в течение 15 минут согласовывает результат оказания государственной услуги;

руководитель услугодателя в течение 15 минут после согласования руководителя Управления подписывает результат оказания государственной услуги;

2) при выдаче переоформленной лицензии и (или) приложения к лицензии:

специалист канцелярии услугодателя в течение 15 минут регистрирует на портале заявление услугополучателя и направляет их руководителю Управления экспортного контроля и лицензирования (далее - Управление);

руководитель Управления в течение 15 минут рассматривает заявление и направляет для исполнения главному эксперту (эксперту) Управления;

главный эксперт (эксперт) Управления проверяет пакет представленных документов в соответствии с пунктом 9 Стандарта:

в случае если услугополучателем представлен не полный пакет документов, необходимых для оказания государственной услуги, в срок не более 2 рабочих дней со дня получения представленных документов услугодателю, оформляет мотивированный отказ в дальнейшем рассмотрении заявления;

в случае если услугополучателем представлен полный пакет документов, в срок 2 рабочих дней рассматривает документы услугополучателя, необходимых для оказания государственной услуги, на его соответствие условиям выдачи лицензии и (или) приложения к лицензии, подготавливает и вносит результат оказания государственной услуги на предварительное согласование руководителю Управления;

руководитель Управления в течение 15 минут согласовывает результат оказания государственной услуги;

руководитель услугодателя в течение 15 минут после согласования руководителя Управления подписывает результат оказания государственной услуги.

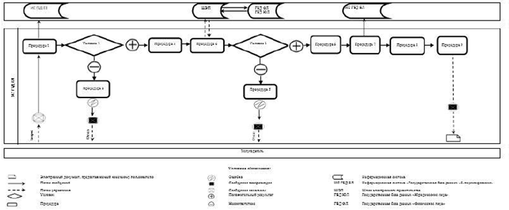
9. Описание последовательности процедур (действий) между структурными подразделениями (работниками) услугодателя приведены в справочнике последовательности процедур (действий) работников согласно приложению 1 к настоящему Регламенту государственной услуги «Выдача лицензии на осуществление деятельности по эксплуатации горных и химических производств».

 

 

Глава 4. Описание порядка использования информационных систем
в процессе оказания государственной услуги

10. Описание порядка обращения и последовательности процедур (действий) услугодателя и услугополучателя при оказании государственной услуги через Портал.

1) описание последовательности процедур (действий) услугодателя:

процедура 1 - ввод сотрудником услугодателя логина и пароля (процедура авторизации) в информационной системе «Государственная база данных «Е-лицензирование» (далее - ИС ГБД ЕЛ) для оказания государственной услуги;

условие 1 - проверка в ИС ГБД ЕЛ подлинности данных о зарегистрированном сотруднике услугодателя через логин и пароль;

процедура 2 - формирование ИС ГБД ЕЛ сообщения об отказе в авторизации в связи с имеющимися нарушениями в данных сотрудника услугодателя;

процедура 3 - выбор сотрудником услугодателя услуги, указанной в настоящем регламенте, вывод на экран формы запроса для оказания услуги и ввод сотрудником услугодателя данных услугополучателя;

процедура 4 - направление запроса через шлюз электронного правительства в государственную базу данных «Юридические лица» (далее - ГБД ЮЛ) или государственную базу данных «Физические лица» (далее - ГБД ФЛ) о данных услугополучателя;

условие 2 - проверка наличия данных услугополучателя в ГБД ЮЛ/ГБД ФЛ;

процедура 5 - формирование сообщения о невозможности получения данных в связи с отсутствием данных услугополучателя в ГБД ЮЛ/ГБД ФЛ;

процедура 6 - заполнение формы запроса в части отметки о наличии документов в бумажной форме;

процедура 7 - регистрация запроса в ИС ГБД ЕЛ и обработка услуги в ИС ГБД ЕЛ;

процедура 8 - проверка услугодателем соответствия услугополучателя условиям выдачи/переоформления лицензии и (или) приложения к лицензии, а также предъявляемым квалификационным требованиям;

процедура 9 - получение услугополучателем результата оказания государственной услуги, сформированной ИС ГБД ЕЛ;

2) описание порядка обращения и последовательности процедур (действий) услугополучателя:

процедура 1 - ввод услугополучателем пароля (процедура авторизации) на Портале для получения государственной услуги;

условие 1 - проверка на Портале подлинности данных о зарегистрированном услугополучателе через логин (индивидуальный идентификационный номер/бизнес-идентификационный номер) и пароль;

процедура 2 - формирование Порталом сообщения об отказе в авторизации в связи с имеющимися нарушениями в данных услугополучателя;

процедура 3 - выбор услугополучателем услуги, указанной в настоящем регламенте, вывод на экран формы запроса для оказания услуги и заполнение услугополучателем формы (ввод данных) с учетом ее структуры и форматных требований, прикреплением к форме запроса необходимых документов в электронном виде;

процедура 4 - оплата услуги посредством платежного шлюза электронного правительства, а затем эта информация поступает в ИС ГБД ЕЛ;

условие 2 - проверка в ИС ГБД ЕЛ факта оплаты за оказание государственной услуги;

процедура 5 - формирование сообщения об отказе в запрашиваемой государственной услуге, в связи с отсутствием оплаты за оказание услуги в ИС ГБД ЕЛ;

процедура 6 - выбор услугополучателем регистрационного свидетельства электронной цифровой подписи (далее - ЭЦП) для удостоверения (подписания) запроса;

процедура 7 - удостоверение (подписание) посредством ЭЦП услугополучателя заполненной формы (введенных данных) запроса на оказание услуги;

процедура 8 - регистрация электронного документа (запроса услугополучателя) в ИС ГБД ЕЛ и обработка запроса в ИС ГБД ЕЛ;

процедура 9 - проверка услугодателем соответствия услугополучателя условиям выдачи/переоформления лицензии и (или) приложения к лицензии, а также предъявляемым квалификационным требованиям;

процедура 10 - получение услугополучателем результата оказания государственной услуги, сформированного ИС ГБД ЕЛ.

Диаграмма функционального взаимодействия информационных систем, задействованных в оказании государственной услуги через услугодателя, и диаграмма функционального взаимодействия информационных систем, задействованных в оказании государственной услуги через услугополучателя, приведены в приложениях 2, 3 к настоящему регламенту.

 

 

Приложение 1
к регламенту государственной услуги
«Выдача лицензии на осуществление
деятельности по эксплуатации горных
и химических производств»

 

Справочник последовательности процедур (действий) работников

 

 

Приложение 2
к регламенту государственной услуги
«Выдача лицензии на осуществление
деятельности по эксплуатации горных
и химических производств»

 

Диаграмма функционального взаимодействия информационных систем,

задействованных в оказании государственной услуги через услугодателя

 

 

Приложение 3
к регламенту государственной услуги
«Выдача лицензии на осуществление
деятельности по эксплуатации горных
и химических производств»

 

Диаграмма функционального взаимодействия информационных систем, задействованных

в оказании государственной услуги через услугополучателя

 

 

Приложение 3

к приказу Министра индустрии
и инфраструктурного развития
Республики Казахстан
от 18 марта 2019 года № 138

Приложение 3
к приказу исполняющего
обязанности Министра
по инвестициям и развитию
Республики Казахстан
от 28 мая 2015 года № 619

 

 

Регламент государственной услуги

«Выдача разрешения на транзит продукции, подлежащей экспортному контролю»

Глава 1. Общие положения

1. Государственная услуга оказывается Комитетом индустриального развития и промышленной безопасности Министерства индустрии и инфраструктурного развития Республики Казахстан (далее - услугодатель).

Прием заявления и выдача результата оказания государственной услуги осуществляется через некоммерческое акционерное общество «Государственная корпорация» (далее - Государственная корпорация), веб-портал «электронного правительства» www.egov.kz или веб-портал «Е-лицензирование»: www.elicense.kz (далее - портал).

2. Форма оказания государственной услуги - электронная/бумажная.

3. Результат оказания государственной услуги - разрешение на транзит продукции, подлежащей экспортному контролю.

Форма предоставления результата оказания государственной услуги: электронная.

 

 

Глава 2. Описание порядка действий структурных подразделений
(работников) услугодателя в процессе оказания государственной услуги

4. Основанием для начала процедуры (действия) по оказанию государственной услуги является получение услугодателем представленных услугополучателем документов, предусмотренных пунктом 9 Стандарта государственной услуги «Выдача разрешения на транзит продукции, подлежащей экспортному контролю», утвержденного приказом Министра по инвестициям и развитию Республики Казахстан от 30 апреля 2015 года № 563 «Об утверждении стандартов государственных услуг в области промышленности и экспортного контроля» (зарегистрирован в Реестре государственной регистрации нормативных правовых актов за № 11636).

5. Содержание каждой процедуры (действия), входящей в состав процесса оказания государственной услуги и длительность его выполнения:

1) специалист канцелярии услугодателя в течение 15 минут регистрирует на портале заявление услугополучателя и направляет их руководителю Управления экспортного контроля и лицензирования (далее - Управление);

2) руководитель Управления в течение 15 минут рассматривает заявление и направляет для исполнения главному эксперту (эксперту) Управления;

3) главный эксперт (эксперт) Управления, в случае если услугополучателем представлен не полный пакет документов, необходимых для оказания государственной услуги, в срок не более 3 рабочих дней со дня получения представленных документов услугодателю, оформляет мотивированный отказ в дальнейшем рассмотрении заявления;

в случае если услугополучателем представлен полный пакет документов, необходимых для оказания государственной услуги, главный эксперт (эксперт) Управления в срок не более 3 рабочих дней со дня получения представленных документов услугодателю, направляет запрос в соответствующие государственные органы для получения согласования;

4) главный эксперт (эксперт) Управления, в срок 11 рабочих дней рассматривает документы услугополучателя, необходимые для оказания государственной услуги, на их соответствие условиям выдачи разрешения на транзит продукции, подлежащей экспортному контролю, подготавливает и вносит результат оказания государственной услуги на предварительное согласование руководителю Управления;

5) руководитель Управления в течение 15 минут согласовывает результат оказания государственной услуги;

6) руководитель услугодателя в течение 15 минут после согласования руководителя Управления подписывает результат оказания государственной услуги.

6. Результат процедуры (действия) по оказанию государственной услуги, который служит основанием для начала выполнения следующей процедуры (действия):

1) регистрация представленного заявления услугополучателя, необходимого для оказания государственной услуги, специалистом канцелярии услугодателя на портале и направление его руководителю Управления;

2) назначение задачи руководителем Управления главному эксперту (эксперту) Управления;

3) оформление главным экспертом (экспертом) Управления разрешение на транзит продукции, подлежащей экспортному контролю и направление его на подписание руководителю услугодателя;

4) выдача разрешения на транзит продукции, подлежащей экспортному контролю.

 

Глава 3. Описание порядка взаимодействия структурных подразделений
(работников) услугодателя в процессе оказания государственной услуги

7. Перечень структурных подразделений (работников) услугодателя, которые участвуют в процедуре оказания государственной услуги:

1) специалист канцелярии услугодателя;

2) руководитель услугодателя;

3) руководитель Управления;

4) главный эксперт (эксперт).

8. Описание последовательности процедур (действий) между структурными подразделениями (работниками) услугодателя:

1) специалист канцелярии услугодателя в течение 15 минут регистрирует на портале заявление услугополучателя и направляет их руководителю Управления экспортного контроля и лицензирования (далее - Управление);

2) руководитель Управления в течение 15 минут рассматривает заявление и направляет для исполнения главному эксперту (эксперту) Управления;

3) главный эксперт (эксперт) Управления, в случае если услугополучателем представлен не полный пакет документов, необходимых для оказания государственной услуги, в срок не более 3 рабочих дней со дня получения представленных документов услугодателю, оформляет мотивированный отказ в дальнейшем рассмотрении заявления;

в случае если услугополучателем представлен полный пакет документов, необходимых для оказания государственной услуги, главный эксперт (эксперт) Управления в срок не более 3 рабочих дней со дня получения представленных документов услугодателю, направляет запрос в соответствующие государственные органы для получения согласования;

4) главный эксперт (эксперт) Управления, в срок 11 рабочих дней рассматривает документы услугополучателя, необходимые для оказания государственной услуги, на их соответствие условиям выдачи разрешения на транзит продукции, подлежащей экспортному контролю, подготавливает и вносит результат оказания государственной услуги на предварительное согласование руководителю Управления;

5) руководитель Управления в течение 15 минут согласовывает результат оказания государственной услуги;

6) руководитель услугодателя в течение 15 минут после согласования руководителя Управления подписывает результат оказания государственной услуги.

9. Описание последовательности процедур (действий) между структурными подразделениями (работниками) услугодателя приведены в блок-схеме взаимодействия структурных подразделений (работников) услугодателя согласно приложению 1 к настоящему Регламенту государственной услуги «Выдача разрешения на транзит продукции, подлежащей экспортному контролю».

 

 

Глава 4. Описание порядка взаимодействия с Государственной корпорацией
и (или) иными услугодателями, а также порядка использования
информационных систем в процессе оказания государственной услуги

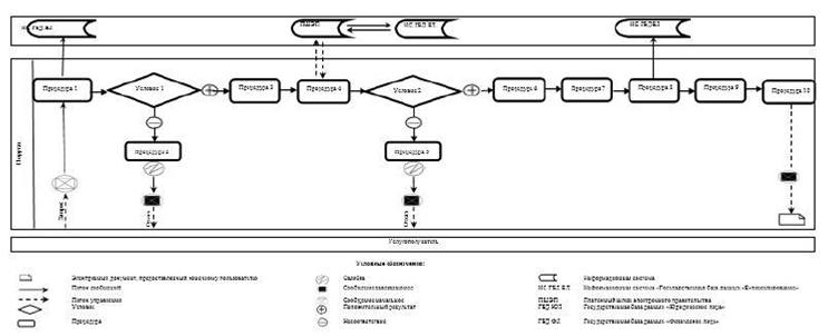
10. Описание порядка обращения в Государственную корпорацию, длительность обработки запроса услугополучателя:

1) описание порядка обращения в Государственную корпорацию:

процедура 1 - ввод работником Государственной корпорации в информационной системе мониторинга оказания государственных услуг (далее - ИС мониторинга оказания государственных услуг) логина и пароля (процесс авторизации) для оказания государственной услуги;

процедура 2 - идентификация работником Государственной корпорации личности лица, подписавшего заявление;

процедура 3 - выбор работником Государственной корпорации услуги, указанной в настоящем регламенте, вывод на экран формы запроса для оказания государственной услуги и ввод работником Государственной корпорации данных услугополучателя;

процедура 4 - направление работником Государственной корпорации запроса через шлюз электронного правительства (далее - ШЭП) в государственную базу данных «Юридические лица» (далее - ГБД ЮЛ) или государственную базу данных «Физические лица» (далее - ГБД ФЛ) о данных услугополучателя;

условие 1 - проверка наличия данных услугополучателя в ГБД ЮЛ/ГБД ФЛ;

процедура 5 - формирование сообщения о невозможности получения данных в связи с отсутствием данных услугополучателя в ГБД ЮЛ/ГБД ФЛ;

процедура 6 - работник Государственной корпорации получает письменное согласие услугополучателя на использование сведений, составляющих охраняемую законом тайну, содержащихся в информационных системах, если иное не предусмотрено законами Республики Казахстан;

условие 2 - правильность заполнения заявления и полнота представленного пакета документов в соответствии с перечнем в ИС мониторинга оказания государственных услуг;

процедура 7 - выдача работником Государственной корпорации расписки об отказе в приеме документов в случае предоставления услугополучателем неполного пакета документов;

процедура 8 - внесение работником Государственной корпорации списка предоставленных услугополучателем документов в ИС мониторинга оказания государственных услуг, сканирование документов (в формате PDF), прикрепление их к форме запроса и, на основании письменного согласия услугополучателя, заверение запроса услугополучателя, а также оригиналов (копий) документов в форме электронных документов своей электронной цифровой подписью (далее - ЭЦП), выданной ему для использования в служебных целях;

процедура 9 - выдача работником Государственной корпорации расписки с штрих-кодом, присвоенным ИС мониторинга оказания государственных услуг, о приеме соответствующих документов от услугополучателя;

процедура 10 - направление работником Государственной корпорации пакета документов услугодателю в форме электронных копий документов, удостоверенных ЭЦП, выданной ему для использования в служебных целях, через ШЭП в информационную систему «Государственная база данных «Е-лицензирование» (далее - ИС ГБД ЕЛ) для рассмотрения их на предмет соответствия условиям и требованиям выдачи разрешения, а также направления результата оказания государственной услуги в Государственную корпорацию;

перечень документов и информация, которые необходимы услугодателю для оказания государственной услуги, определены пунктом 9 Стандарта государственной услуги «Выдача разрешения на транзит продукции, подлежащей экспортному контролю»;

процедура 11 - выдача работником Государственной корпорации результата оказания государственной услуги услугополучателю в срок, указанный в расписке на получение;

2) длительность обработки запроса услугополучателя в Государственной корпорации - не более 1 часа.

Диаграмма функционального взаимодействия информационных систем, задействованных в оказании государственной услуги при обращении в Государственную корпорацию, приведена в приложении 2 к настоящему регламенту.

11. Описание процесса получения результата оказания государственной услуги через Государственную корпорацию, его длительность:

1) способ получения результата оказания государственной услуги - нарочно в Государственной корпорации;

2) длительность процесса получения результата оказания государственной услуги - не более 15 минут;

3) порядок получения результата оказания государственной услуги:

процедура 1 - услугополучатель (либо его представитель по доверенности) на основании отрывного талона бланка заявления-расписки в указанный в нем срок с предъявлением документа, удостоверяющего его личность, обращается к работнику Государственной корпорации;

процедура 2 - работник Государственной корпорации принимает у услугополучателя расписку со штрих-кодом для сканирования штрих-кода на расписке;

процедура 3 - работник Государственной корпорации, с отметкой услугополучателя в получении, выдает ему результат оказания государственной услуги.

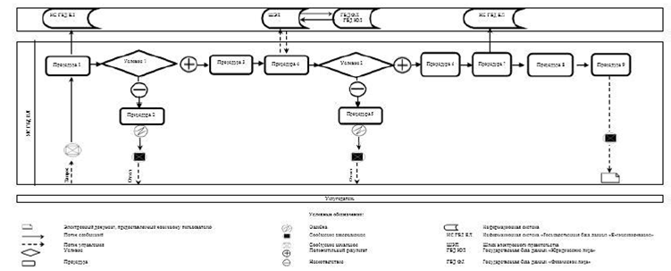
12. Описание порядка обращения и последовательности процедур (действий) услугодателя и услугополучателя при оказании государственной услуги через Портал.

1) описание последовательности процедур (действий) услугодателя:

процедура 1 - ввод сотрудником услугодателя логина и пароля (процедура авторизации) в информационной системе «Государственная база данных «Е-лицензирование» (далее - ИС ГБД ЕЛ) для оказания государственной услуги;

условие 1 - проверка в ИС ГБД ЕЛ подлинности данных о зарегистрированном сотруднике услугодателя через логин и пароль;

процедура 2 - формирование ИС ГБД ЕЛ сообщения об отказе в авторизации в связи с имеющимися нарушениями в данных сотрудника услугодателя;

процедура 3 - выбор сотрудником услугодателя услуги, указанной в настоящем регламенте, вывод на экран формы запроса для оказания услуги и ввод сотрудником услугодателя данных услугополучателя;

процедура 4 - направление запроса через шлюз электронного правительства в государственную базу данных «Юридические лица» (далее - ГБД ЮЛ) или государственную базу данных «Физические лица» (далее - ГБД ФЛ) о данных услугополучателя;

условие 2 - проверка наличия данных услугополучателя в ГБД ЮЛ/ГБД ФЛ;

процедура 5 - формирование сообщения о невозможности получения данных в связи с отсутствием данных услугополучателя в ГБД ЮЛ/ГБД ФЛ;

процедура 6 - заполнение формы запроса в части отметки о наличии документов в бумажной форме;

процедура 7 - регистрация запроса в ИС ГБД ЕЛ и обработка услуги в ИС ГБД ЕЛ;

процедура 8 - проверка услугодателем соответствия услугополучателя условиям и требованиям выдачи разрешения;

процедура 9 - получение услугополучателем результата оказания государственной услуги.

2) описание порядка обращения и последовательности процедур (действий) услугополучателя:

процедура 1 - ввод услугополучателем пароля (процедура авторизации) на Портале для получения государственной услуги;

условие 1 - проверка на Портале подлинности данных о зарегистрированном услугополучателе через логин (индивидуальный идентификационный номер/бизнес-идентификационный номер) и пароль;

процедура 2 - формирование Порталом сообщения об отказе в авторизации в связи с имеющимися нарушениями в данных услугополучателя;

процедура 3 - выбор услугополучателем услуги, указанной в настоящем регламенте, вывод на экран формы запроса для оказания услуги и заполнение услугополучателем формы (ввод данных) с учетом ее структуры и форматных требований, прикреплением к форме запроса необходимых документов в электронном виде;

процедура 4 - выбор услугополучателем регистрационного свидетельства электронной цифровой подписи (далее - ЭЦП) для удостоверения (подписания) запроса;

процедура 5 - удостоверение (подписание) посредством ЭЦП услугополучателя заполненной формы (введенных данных) запроса на оказание услуги;

процедура 6 - регистрация электронного документа (запроса услугополучателя) в ИС ГБД ЕЛ и обработка запроса в ИС ГБД ЕЛ;

процедура 7 - проверка услугодателем соответствия услугополучателя условиям и требованиям выдачи разрешения;

процедура 8 - получение услугополучателем разрешения.

Диаграмма функционального взаимодействия информационных систем, задействованных в оказании государственной услуги через услугодателя, и диаграмма функционального взаимодействия информационных систем, задействованных в оказании государственной услуги через услугополучателя, приведены в приложениях 3, 4 к настоящему регламенту.

 

 

Приложение 1
к регламенту государственной услуги
«Выдача разрешения на транзит продукции,
подлежащей экспортному контролю»

 

Справочник последовательности процедур (действий) работников

 

 

Приложение 2
к регламенту государственной услуги
«Выдача разрешения на транзит продукции,
подлежащей экспортному контролю»

 

Диаграмма функционального взаимодействия информационных систем,

задействованных в оказании государственной услуги через

Государственную корпорацию

 

 

Приложение 3
к регламенту государственной услуги
«Выдача разрешения на транзит продукции,
подлежащей экспортному контролю»

 

Диаграмма функционального взаимодействия информационных систем,

задействованных в оказании государственной услуги через услугодателя

 

 

Приложение 4
к регламенту государственной услуги
«Выдача разрешения на транзит продукции,
подлежащей экспортному контролю»

 

Диаграмма функционального взаимодействия информационных систем,

задействованных в оказании государственной услуги через услугополучателя

 

Приложение 4

к приказу Министра индустрии
и инфраструктурного развития
Республики Казахстан
от 18 марта 2019 года № 138

Приложение 4
к приказу исполняющего
обязанности Министра
по инвестициям и развитию
Республики Казахстан
от 28 мая 2015 года № 619

 

Регламент государственной услуги
«Выдача лицензии на осуществление деятельности по производству, переработке,
приобретению, хранению, реализации, использованию, уничтожению ядов»

Глава 1. Общие положения

1. Государственная услуга оказывается Комитетом индустриального развития и промышленной безопасности Министерства индустрии и инфраструктурного развития Республики Казахстан (далее - услугодатель).

Прием заявления и выдача результата оказания государственной услуги осуществляется через веб-портал «электронного правительства» www.egov.kz или веб-портал «Е-лицензирование»: www.elicense.kz (далее - портал).

2. Форма оказания государственной услуги - электронная.

3. Результат оказания государственной услуги - лицензия и (или) приложение к лицензии, переоформленная лицензия и (или) приложение к лицензии на осуществление деятельности по производству, переработке, приобретению, хранению, реализации, использованию, уничтожению ядов, либо мотивированный ответ об отказе в оказании государственной услуги.

Форма предоставления результата оказания государственной услуги: электронная.

 

 

Глава 2. Описание порядка действий структурных подразделений
(работников) услугодателя в процессе оказания государственной услуги

4. Основанием для начала процедуры (действия) по оказанию государственной услуги является получение услугодателем представленных услугополучателем документов, предусмотренных пунктом 9 Стандарта государственной услуги «Выдача лицензии на осуществление деятельности по производству, переработке, приобретению, хранению, реализации, использованию, уничтожению ядов», утвержденного приказом Министра по инвестициям и развитию Республики Казахстан от 30 апреля 2015 года № 563 «Об утверждении стандартов государственных услуг в области промышленности и экспортного контроля» (зарегистрирован в Реестре государственной регистрации нормативных правовых актов за № 11636) (далее - Стандарт).

5. Содержание каждой процедуры (действия), входящей в состав процесса оказания государственной услуги и длительность его выполнения:

1) при выдаче лицензии и (или) приложения к лицензии, переоформлении лицензии и (или) приложения к лицензии в случае реорганизации услугополучателя в форме выделения или разделения:

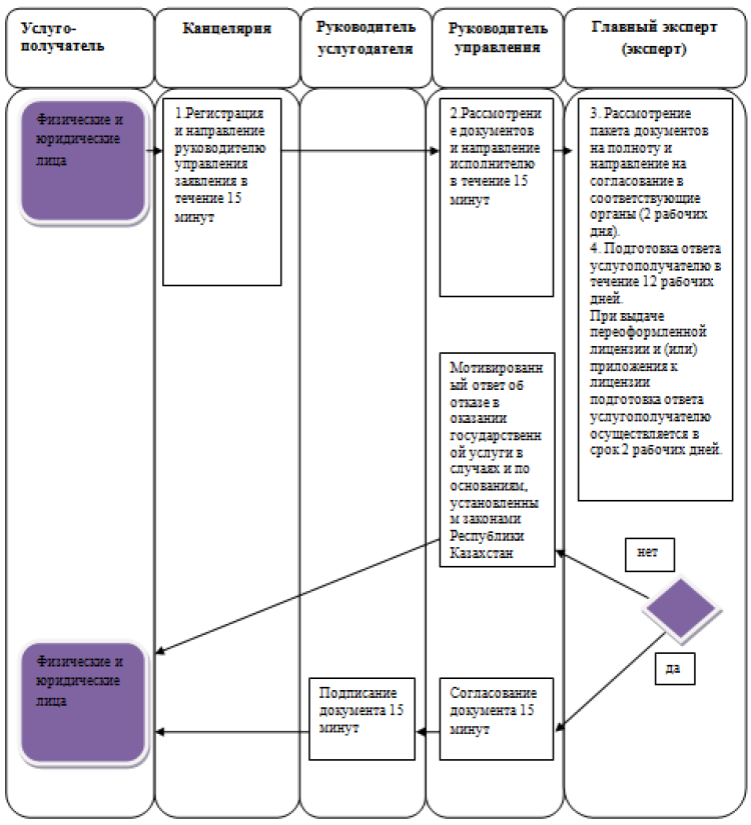
специалист канцелярии услугодателя в течение 15 минут регистрирует на портале заявление услугополучателя и направляет их руководителю Управления экспортного контроля и лицензирования (далее - Управление);

руководитель Управления в течение 15 минут рассматривает заявление и направляет для исполнения главному эксперту (эксперту) Управления;

главный эксперт или эксперт Управления проверяет пакет представленных документов в соответствии с пунктом 9 Стандарта:

в случае если услугополучателем представлен не полный пакет документов, необходимых для оказания государственной услуги, в срок не более 2 рабочих дней рабочего дня со дня получения представленных документов услугодателю, оформляет мотивированный отказ в дальнейшем рассмотрении заявления;

в случае если услугополучателем представлен полный пакет документов, необходимых для оказания государственной услуги, главный эксперт (эксперт) Управления в срок не более 2 рабочих дней со дня получения представленных документов услугодателю, направляет запрос в соответствующие государственные органы для получения согласования, в случае не предоставления ответа согласующими государственными органами в срок, статус заявления изменяется на «приостановлено» до получения ответа, в соответствии с частью второй пункта 3 статьи 25 Закона Республики Казахстан от 16 мая 2014 года «О разрешениях и уведомлениях»;

главный эксперт (эксперт) Управления, в срок 2 рабочих дня рассматривает документы услугополучателя, необходимые для оказания государственной услуги, на их соответствие условиям выдачи лицензии и (или) приложения к лицензии, переоформлении лицензии и (или) приложения к лицензии при реорганизации услугополучателя в форме выделения или разделения, подготавливает и вносит результат оказания государственной услуги на предварительное согласование руководителю Управления;

руководитель Управления услугодателя в течение 15 минут согласовывает результат оказания государственной услуги;

руководитель услугодателя в течение 15 минут после согласования руководителя Управления подписывает результат оказания государственной услуги;

2) при выдаче переоформленной лицензии и (или) приложения к лицензии:

специалист канцелярии услугодателя в течение 15 минут регистрирует на портале заявление услугополучателя и направляет их руководителю Управления экспортного контроля и лицензирования (далее - Управление);

руководитель Управления в течение 15 минут рассматривает заявление и направляет для исполнения главному эксперту (эксперту) Управления;

главный эксперт (эксперт) в случае:

если услугополучателем представлен не полный пакет документов, необходимых для оказания государственной услуги, в срок не более 1 рабочего дня рабочего дня со дня получения представленных документов услугодателю, главный эксперт (эксперт) Управления оформляет мотивированный отказ в дальнейшем рассмотрении заявления;

если услугополучателем представлен полный пакет документов, главный эксперт (эксперт) Управления в срок 1 рабочего дня рассматривает документы услугополучателя, необходимые для оказания государственной услуги, на их соответствие условиям переоформления лицензии и (или) приложения к лицензии, подготавливает и вносит результат оказания государственной услуги на предварительное согласование руководителю Управления;

руководитель Управления услугодателя в течение 15 минут согласовывает результат оказания государственной услуги;

руководитель услугодателя в течение 15 минут после согласования руководителя Управления подписывает результат оказания государственной услуги.

6. Результат процедуры (действия) по оказанию государственной услуги, который служит основанием для начала выполнения следующей процедуры (действия):

1) регистрация представленного заявления услугополучателя, необходимого для оказания государственной услуги, специалистом канцелярии услугодателя на портале и направление его руководителю Управления;

2) назначение задачи руководителем Управления главному эксперту (эксперту) Управления;

3) оформление главным экспертом (экспертом) Управления лицензии и (или) приложения к лицензии, переоформления лицензии и (или) приложения к лицензии и направление его на подписания руководителю услугодателя;

4) выдача лицензии и (или) приложения к лицензии, переоформление, лицензии и (или) приложения к лицензии услугополучателю.

 

 

Глава 3. Описание порядка взаимодействия структурных подразделений
(работников) услугодателя в процессе оказания государственной услуги

7. Перечень структурных подразделений (работников) услугодателя, которые участвуют в процедуре оказания государственной услуги:

1) специалист канцелярии услугодателя;

2) руководитель услугодателя;

3) руководитель Управления;

4) главный эксперт (эксперт).

8. Описание последовательности процедур (действий) между структурными подразделениями (работниками) услугодателя:

1) при выдаче лицензии и (или) приложения к лицензии, переоформлении лицензии и (или) приложения к лицензии в случае реорганизации услугополучателя в форме выделения или разделения:

специалист канцелярии услугодателя в течение 15 минут регистрирует на портале заявление услугополучателя и направляет их руководителю Управления экспортного контроля и лицензирования (далее - Управление);

руководитель Управления в течение 15 минут рассматривает заявление и направляет для исполнения главному эксперту (эксперту) Управления;

главный эксперт или эксперт Управления проверяет пакет представленных документов в соответствии с пунктом 9 Стандарта:

в случае если услугополучателем представлен не полный пакет документов, необходимых для оказания государственной услуги, в срок не более 2 рабочих дней рабочего дня со дня получения представленных документов услугодателю, оформляет мотивированный отказ в дальнейшем рассмотрении заявления;

в случае если услугополучателем представлен полный пакет документов, необходимых для оказания государственной услуги, главный эксперт (эксперт) Управления в срок не более 2 рабочих дней со дня получения представленных документов услугодателю, направляет запрос в соответствующие государственные органы для получения согласования, в случае не предоставления ответа согласующими государственными органами в срок, статус заявления изменяется на «приостановлено» до получения ответа, в соответствии с частью второй пункта 3 статьи 25 Закона Республики Казахстан от 16 мая 2014 года «О разрешениях и уведомлениях»;

главный эксперт (эксперт) Управления, в срок 2 рабочих дня рассматривает документы услугополучателя, необходимые для оказания государственной услуги, на их соответствие условиям выдачи лицензии и (или) приложения к лицензии, переоформлении лицензии и (или) приложения к лицензии при реорганизации услугополучателя в форме выделения или разделения, подготавливает и вносит результат оказания государственной услуги на предварительное согласование руководителю Управления;

руководитель Управления услугодателя в течение 15 минут согласовывает результат оказания государственной услуги;

руководитель услугодателя в течение 15 минут после согласования руководителя Управления подписывает результат оказания государственной услуги;

2) при выдаче переоформленной лицензии и (или) приложения к лицензии:

специалист канцелярии услугодателя в течение 15 минут регистрирует на портале заявление услугополучателя и направляет их руководителю Управления экспортного контроля и лицензирования (далее - Управление);

руководитель Управления в течение 15 минут рассматривает заявление и направляет для исполнения главному эксперту (эксперту) Управления;

главный эксперт (эксперт) в случае:

если услугополучателем представлен не полный пакет документов, необходимых для оказания государственной услуги, в срок не более 1 рабочего дня рабочего дня со дня получения представленных документов услугодателю, главный эксперт (эксперт) Управления оформляет мотивированный отказ в дальнейшем рассмотрении заявления;

если услугополучателем представлен полный пакет документов, главный эксперт (эксперт) Управления в срок 1 рабочего дня рассматривает документы услугополучателя, необходимые для оказания государственной услуги, на их соответствие условиям переоформления лицензии и (или) приложения к лицензии, подготавливает и вносит результат оказания государственной услуги на предварительное согласование руководителю Управления;

руководитель Управления услугодателя в течение 15 минут согласовывает результат оказания государственной услуги;

руководитель услугодателя в течение 15 минут после согласования руководителя Управления подписывает результат оказания государственной услуги.

9. Описание последовательности процедур (действий) между структурными подразделениями (работниками) услугодателя приведены в блок-схеме взаимодействия структурных подразделений (работников) услугодателя согласно приложению 1 к настоящему Регламенту государственной услуги «Выдача лицензии на осуществление деятельности по производству, переработке, приобретению, хранению, реализации, использованию, уничтожению ядов».

 

 

Глава 4. Описание порядка использования информационных систем
в процессе оказания государственной услуги

10. Описание порядка обращения и последовательности процедур (действий) услугодателя и услугополучателя при оказании государственной услуги через Портал.

1) описание последовательности процедур (действий) услугодателя:

процедура 1 - ввод сотрудником услугодателя логина и пароля (процедура авторизации) в информационной системе «Государственная база данных «Е-лицензирование» (далее - ИС ГБД ЕЛ) для оказания государственной услуги;

условие 1 - проверка в ИС ГБД ЕЛ подлинности данных о зарегистрированном сотруднике услугодателя через логин и пароль;

процедура 2 - формирование ИС ГБД ЕЛ сообщения об отказе в авторизации в связи с имеющимися нарушениями в данных сотрудника услугодателя;

процедура 3 - выбор сотрудником услугодателя услуги, указанной в настоящем регламенте, вывод на экран формы запроса для оказания услуги и ввод сотрудником услугодателя данных услугополучателя;

процедура 4 - направление запроса через шлюз электронного правительства в государственную базу данных «Юридические лица» (далее - ГБД ЮЛ) или государственную базу данных «Физические лица» (далее - ГБД ФЛ) о данных услугополучателя;

условие 2 - проверка наличия данных услугополучателя в ГБД ЮЛ/ГБД ФЛ;

процедура 5 - формирование сообщения о невозможности получения данных в связи с отсутствием данных услугополучателя в ГБД ЮЛ/ГБД ФЛ;

процедура 6 - заполнение формы запроса в части отметки о наличии документов в бумажной форме;

процедура 7 - регистрация запроса в ИС ГБД ЕЛ и обработка услуги в ИС ГБД ЕЛ;

процедура 8 - проверка услугодателем соответствия услугополучателя условиям выдачи/переоформления лицензии и (или) приложения к лицензии, а также предъявляемым квалификационным требованиям;

процедура 9 - получение услугополучателем результата оказания государственной услуги, сформированной ИС ГБД ЕЛ;

2) описание порядка обращения и последовательности процедур (действий) услугополучателя:

процедура 1 - ввод услугополучателем пароля (процедура авторизации) на Портале для получения государственной услуги;

условие 1 - проверка на Портале подлинности данных о зарегистрированном услугополучателе через логин (индивидуальный идентификационный номер/бизнес-идентификационный номер) и пароль;

процедура 2 - формирование Порталом сообщения об отказе в авторизации в связи с имеющимися нарушениями в данных услугополучателя;

процедура 3 - выбор услугополучателем услуги, указанной в настоящем регламенте, вывод на экран формы запроса для оказания услуги и заполнение услугополучателем формы (ввод данных) с учетом ее структуры и форматных требований, прикреплением к форме запроса необходимых документов в электронном виде;

процедура 4 - оплата услуги посредством платежного шлюза электронного правительства, а затем эта информация поступает в ИС ГБД ЕЛ;

условие 2 - проверка в ИС ГБД ЕЛ факта оплаты за оказание государственной услуги;

процедура 5 - формирование сообщения об отказе в запрашиваемой государственной услуге, в связи с отсутствием оплаты за оказание услуги в ИС ГБД ЕЛ;

процедура 6 - выбор услугополучателем регистрационного свидетельства электронной цифровой подписи (далее - ЭЦП) для удостоверения (подписания) запроса;

процедура 7 - удостоверение (подписание) посредством ЭЦП услугополучателя заполненной формы (введенных данных) запроса на оказание услуги;

процедура 8 - регистрация электронного документа (запроса услугополучателя) в ИС ГБД ЕЛ и обработка запроса в ИС ГБД ЕЛ;

процедура 9 - проверка услугодателем соответствия услугополучателя условиям выдачи/переоформления лицензии и (или) приложения к лицензии, а также предъявляемым квалификационным требованиям;

процедура 10 - получение услугополучателем результата оказания государственной услуги, сформированного ИС ГБД ЕЛ.

Диаграмма функционального взаимодействия информационных систем, задействованных в оказании государственной услуги через услугодателя, и диаграмма функционального взаимодействия информационных систем, задействованных в оказании государственной услуги через услугополучателя, приведены в приложениях 2, 3 к настоящему регламенту.

 

 

Приложение 1
к регламенту государственной услуги
«Выдача лицензии на осуществление
деятельности по производству,
переработке, приобретению, хранению,
реализации, использованию,
уничтожению ядов»

 

Справочник последовательности процедур (действий) работников

 

 

Приложение 2
к регламенту государственной услуги
«Выдача лицензии на осуществление
деятельности по производству,
переработке, приобретению, хранению,
реализации, использованию,
уничтожению ядов»

 

Диаграмма функционального взаимодействия информационных систем,

задействованных в оказании государственной услуги через услугодателя

 

 

Приложение 3
к регламенту государственной услуги
«Выдача лицензии на осуществление
деятельности по производству,
переработке, приобретению, хранению,
реализации, использованию,
уничтожению ядов»

 

Диаграмма функционального взаимодействия информационных систем, задействованных

в оказании государственной услуги через услугополучателя

 

 

 

Приложение 5

к приказу Министра индустрии
и инфраструктурного развития
Республики Казахстан
от 18 марта 2019 года № 138

Приложение 5
к приказу исполняющего
обязанности Министра
по инвестициям и развитию
Республики Казахстан
от 28 мая 2015 года № 619

 


Регламент государственной услуги
«Выдача лицензии на импорт и (или) экспорт отдельных видов товаров»

Глава 1. Общие положения

1. Государственная услуга оказывается Комитетом индустриального развития и промышленной безопасности Министерства индустрии и инфраструктурного развития Республики Казахстан (далее - услугодатель).

Прием заявления и выдача результата оказания государственной услуги осуществляется через веб-портал «электронного правительства» www.egov.kz или веб-портал «Е-лицензирование»: www.elicense.kz (далее - портал).

2. Форма оказания государственной услуги - электронная.

3. Результат оказания государственной услуги - лицензия на импорт и (или) экспорт отдельных видов товаров, либо мотивированный ответ об отказе в оказании государственной услуги.

Форма предоставления результата оказания государственной услуги: электронная.

 

 

Глава 2. Описание порядка действий структурных подразделений
(работников) услугодателя в процессе оказания государственной услуги

4. Основанием для начала процедуры (действия) по оказанию государственной услуги является получение услугодателем представленных услугополучателем документов, предусмотренных пунктом 9 Стандарта государственной услуги «Выдача лицензии на импорт и (или) экспорт отдельных видов товаров», утвержденного приказом Министра по инвестициям и развитию Республики Казахстан от 30 апреля 2015 года № 563 «Об утверждении стандартов государственных услуг в области промышленности и экспортного контроля» (зарегистрирован в Реестре государственной регистрации нормативных правовых актов за № 11636).

5. Содержание каждой процедуры (действия), входящей в состав процесса оказания государственной услуги и длительность его выполнения:

1) специалист канцелярии услугодателя в течение 15 минут регистрирует на портале заявление услугополучателя и направляет их руководителю Управления экспортного контроля и лицензирования (далее - Управление);

2) руководитель Управления в течение 15 минут рассматривает заявление и направляет для исполнения главному эксперту (эксперту) Управления;

3) главный эксперт (эксперт) Управления, в случае если услугополучателем представлен не полный пакет документов, необходимых для оказания государственной услуги, при выдаче при выдаче лицензии на Экспорт драгоценных металлов и сырьевых товаров, содержащих драгоценные металлы и экспорт минерального сырья в срок не более 1 рабочего дня оформляет мотивированный отказ в дальнейшем рассмотрении заявления;

при выдаче лицензии на импорт ядовитых веществ, не являющихся прекурсорами наркотических средств и психотропных веществ и выдаче лицензии на экспорт (импорт) специальных технических средств, предназначенных для проведения оперативно-розыскных мероприятий, или шифровальных (криптографических) средств в срок не более 2 рабочих дней со дня получения представленных документов услугодателю, оформляет мотивированный отказ в дальнейшем рассмотрении заявления;

в случае если услугополучателем представлен полный пакет документов, необходимых для оказания государственной услуги, главный эксперт (эксперт) Управления в срок не более 2 рабочих дней со дня получения представленных документов услугодателю, направляет запрос в соответствующие государственные органы для получения согласования;

4) главный эксперт (эксперт) Управления, при выдаче лицензии на Экспорт драгоценных металлов и сырьевых товаров, содержащих драгоценные металлы и выдаче лицензии на экспорт минерального сырья в срок 1 рабочего дня (при этом день регистрации не входит в срок оказания государственной услуги) рассматривает документы услугополучателя, необходимых для оказания государственной услуги, на его соответствие условиям выдачи лицензии, подготавливает и вносит результат оказания государственной услуги на предварительное согласование руководителю Управления;

при выдаче лицензии на импорт ядовитых веществ, не являющихся прекурсорами наркотических средств и психотропных веществ в срок 2 рабочих дней рассматривает документы услугополучателя, необходимых для оказания государственной услуги, на его соответствие условиям выдачи лицензии, подготавливает и вносит результат оказания государственной услуги на предварительное согласование руководителю Управления;

при выдаче лицензии на экспорт (импорт) специальных технических средств, предназначенных для проведения оперативно-розыскных мероприятий, или шифровальных (криптографических) средств - 7 (девять) (в соответ. с оригиналом) рабочих дней рассматривает документы услугополучателя, необходимых для оказания государственной услуги, на его соответствие условиям выдачи лицензии, подготавливает и вносит результат оказания государственной услуги на предварительное согласование руководителю Управления;

5) руководитель Управления в течение 15 минут согласовывает результат оказания государственной услуги;

6) руководитель услугодателя в течение 15 минут после согласования руководителя Управления подписывает результат оказания государственной услуги.

6. Результат процедуры (действия) по оказанию государственной услуги, который служит основанием для начала выполнения следующей процедуры (действия):

1) регистрация представленного заявления услугополучателя, необходимого для оказания государственной услуги, специалистом канцелярии услугодателя на портале и направление его руководителю Управления;

2) назначение задачи руководителем Управления главному эксперту (эксперту) Управления;

3) оформление главным экспертом (экспертом) Управления лицензии и (или) приложения к лицензии и направление его на подписание руководителю услугодателя;

4) выдача лицензии на импорт и (или) экспорт отдельных видов товаров услугополучателю.

 

 

Глава 3. Описание порядка взаимодействия структурных подразделений
(работников) услугодателя в процессе оказания государственной услуги

7. Перечень структурных подразделений (работников) услугодателя, которые участвуют в процедуре оказания государственной услуги:

1) специалист канцелярии услугодателя;

2) руководитель услугодателя;

3) руководитель Управления;

4) главный эксперт (эксперт).

8. Описание последовательности процедур (действий) между структурными подразделениями (работниками) услугодателя:

1) специалист канцелярии услугодателя в течение 15 минут регистрирует на портале заявление услугополучателя и направляет их руководителю Управления экспортного контроля и лицензирования (далее - Управление);

2) руководитель Управления в течение 15 минут рассматривает заявление и направляет для исполнения главному эксперту (эксперту) Управления;

3) главный эксперт (эксперт) Управления, в случае если услугополучателем представлен не полный пакет документов, необходимых для оказания государственной услуги, при выдаче при выдаче лицензии на Экспорт драгоценных металлов и сырьевых товаров, содержащих драгоценные металлы и экспорт минерального сырья в срок не более 1 рабочего дня оформляет мотивированный отказ в дальнейшем рассмотрении заявления;

при выдаче лицензии на импорт ядовитых веществ, не являющихся прекурсорами наркотических средств и психотропных веществ и выдаче лицензии на экспорт (импорт) специальных технических средств, предназначенных для проведения оперативно-розыскных мероприятий, или шифровальных (криптографических) средств в срок не более 2 рабочих дней со дня получения представленных документов услугодателю, оформляет мотивированный отказ в дальнейшем рассмотрении заявления;

в случае если услугополучателем представлен полный пакет документов, необходимых для оказания государственной услуги, главный эксперт (эксперт) Управления в срок не более 2 рабочих дней со дня получения представленных документов услугодателю, направляет запрос в соответствующие государственные органы для получения согласования;

4) главный эксперт (эксперт) Управления, при выдаче лицензии на Экспорт драгоценных металлов и сырьевых товаров, содержащих драгоценные металлы и выдаче лицензии на экспорт минерального сырья в срок 1 рабочего дня (при этом день регистрации не входит в срок оказания государственной услуги) рассматривает документы услугополучателя, необходимых для оказания государственной услуги, на его соответствие условиям выдачи лицензии, подготавливает и вносит результат оказания государственной услуги на предварительное согласование руководителю Управления;

при выдаче лицензии на импорт ядовитых веществ, не являющихся прекурсорами наркотических средств и психотропных веществ в срок 2 рабочих дней рассматривает документы услугополучателя, необходимых для оказания государственной услуги, на его соответствие условиям выдачи лицензии, подготавливает и вносит результат оказания государственной услуги на предварительное согласование руководителю Управления;

при выдаче лицензии на экспорт (импорт) специальных технических средств, предназначенных для проведения оперативно-розыскных мероприятий, или шифровальных (криптографических) средств - 7 (девять) (в соответ. с оригиналом) рабочих дней рассматривает документы услугополучателя, необходимых для оказания государственной услуги, на его соответствие условиям выдачи лицензии, подготавливает и вносит результат оказания государственной услуги на предварительное согласование руководителю Управления;

5) руководитель Управления в течение 15 минут согласовывает результат оказания государственной услуги;

6) руководитель услугодателя в течение 15 минут после согласования руководителя Управления подписывает результат оказания государственной услуги.

9. Описание последовательности процедур (действий) между структурными подразделениями (работниками) услугодателя приведены в блок-схеме взаимодействия структурных подразделений (работников) услугодателя согласно приложению 1 к настоящему Регламенту государственной услуги «Выдача лицензии на импорт и (или) экспорт отдельных видов товаров».

 


Глава 4. Описание порядка использования информационных систем
в процессе оказания государственной услуги

10. Описание порядка обращения и последовательности процедур (действий) услугодателя и услугополучателя при оказании государственной услуги через Портал.

1) описание последовательности процедур (действий) услугодателя:

процедура 1 - ввод сотрудником услугодателя логина и пароля (процедура авторизации) в информационной системе «Государственная база данных «Е-лицензирование» (далее - ИС ГБД ЕЛ) для оказания государственной услуги;

условие 1 - проверка в ИС ГБД ЕЛ подлинности данных о зарегистрированном сотруднике услугодателя через логин и пароль;

процедура 2 - формирование ИС ГБД ЕЛ сообщения об отказе в авторизации в связи с имеющимися нарушениями в данных сотрудника услугодателя;

процедура 3 - выбор сотрудником услугодателя услуги, указанной в настоящем регламенте, вывод на экран формы запроса для оказания услуги и ввод сотрудником услугодателя данных услугополучателя;

процедура 4 - направление запроса через шлюз электронного правительства в государственную базу данных «Юридические лица» (далее - ГБД ЮЛ) о данных услугополучателя;

условие 2 - проверка наличия данных услугополучателя в ГБД ЮЛ;

процедура 5 - формирование сообщения о невозможности получения данных в связи с отсутствием данных услугополучателя в ГБД ЮЛ;

процедура 6 - заполнение формы запроса в части отметки о наличии документов в бумажной форме;

процедура 7 - регистрация запроса в ИС ГБД ЕЛ и обработка услуги в ИС ГБД ЕЛ;

процедура 8 - проверка услугодателем соответствия услугополучателя условиям выдачи/переоформления лицензии и (или) приложения к лицензии, а также предъявляемым квалификационным требованиям;

процедура 9 - получение услугополучателем результата оказания государственной услуги, сформированной ИС ГБД ЕЛ;

2) описание порядка обращения и последовательности процедур (действий) услугополучателя:

процедура 1 - ввод услугополучателем пароля (процедура авторизации) на Портале для получения государственной услуги;

условие 1 - проверка на Портале подлинности данных о зарегистрированном услугополучателе через логин (индивидуальный идентификационный номер/бизнес-идентификационный номер) и пароль;

процедура 2 - формирование Порталом сообщения об отказе в авторизации в связи с имеющимися нарушениями в данных услугополучателя;

процедура 3 - выбор услугополучателем услуги, указанной в настоящем регламенте, вывод на экран формы запроса для оказания услуги и заполнение услугополучателем формы (ввод данных) с учетом ее структуры и форматных требований, прикреплением к форме запроса необходимых документов в электронном виде (в формате PDF с оригиналов документов);

процедура 4 - оплата услуги посредством платежного шлюза электронного правительства, а затем эта информация поступает в ИС ГБД ЕЛ;

условие 2 - проверка в ИС ГБД ЕЛ факта оплаты за оказание государственной услуги;

процедура 5 - формирование сообщения об отказе в запрашиваемой государственной услуге, в связи с отсутствием оплаты за оказание услуги в ИС ГБД ЕЛ;

процедура 6 - выбор услугополучателем регистрационного свидетельства электронной цифровой подписи (далее - ЭЦП) для удостоверения (подписания) запроса;

процедура 7 - удостоверение (подписание) посредством ЭЦП услугополучателя заполненной формы (введенных данных) запроса на оказание услуги;

процедура 8 - регистрация электронного документа (запроса услугополучателя) в ИС ГБД ЕЛ и обработка запроса в ИС ГБД ЕЛ;

процедура 9 - проверка услугодателем соответствия услугополучателя условиям выдачи/переоформления лицензии, а также предъявляемым квалификационным требованиям;

процедура 10 - получение услугополучателем результата оказания государственной услуги, сформированного ИС ГБД ЕЛ.

Диаграмма функционального взаимодействия информационных систем, задействованных в оказании государственной услуги через услугодателя, и диаграмма функционального взаимодействия информационных систем, задействованных в оказании государственной услуги через услугополучателя, приведены в приложениях 2, 3 к настоящему регламенту.

 

 

Приложение 1
к регламенту государственной услуги
«Выдача лицензии на импорт и (или)
экспорт отдельных видов товаров»

 

Справочник последовательности процедур (действий) работников

 

 

Приложение 2
к регламенту государственной услуги
«Выдача лицензии на импорт и (или)
экспорт отдельных видов товаров»

 

Диаграмма функционального взаимодействия информационных систем,

задействованных в оказании государственной услуги через услугодателя

 

 

Приложение 3
к регламенту государственной услуги
«Выдача лицензии на импорт и (или)
экспорт отдельных видов товаров»

 

Диаграмма функционального взаимодействия информационных систем,

задействованных в оказании государственной услуги через услугополучателя

 

 

Приложение 6

к приказу Министра индустрии
и инфраструктурного развития
Республики Казахстан
от 18 марта 2019 года № 138

Приложение 6
к приказу исполняющего
обязанности Министра
по инвестициям и развитию
Республики Казахстан
от 28 мая 2015 года № 619

 

 

Регламент государственной услуги
«Выдача лицензии на экспорт и импорт продукции, подлежащей экспортному контролю»

Глава 1. Общие положения

1. Государственная услуга оказывается Комитетом индустриального развития и промышленной безопасности Министерства индустрии и инфраструктурного развития Республики Казахстан (далее - услугодатель).

Прием заявлений и выдача результатов оказания государственной услуги осуществляется через веб-портал «электронного правительства» www.egov.kz или веб-портал «Е-лицензирование»: www.elicense.kz (далее - портал).

2. Форма оказания государственной услуги - электронная.

3. Результат оказания государственной услуги - лицензия, переоформленная лицензия на экспорт и импорт продукции, подлежащей экспортному контролю, либо мотивированный ответ об отказе в оказании государственной услуги.

Форма предоставления результата оказания государственной услуги: электронная.

 


Глава 2. Описание порядка действий структурных подразделений
(работников) услугодателя в процессе оказания государственной услуги

4. Основанием для начала процедуры (действия) по оказанию государственной услуги является получение услугодателем представленных услугополучателем документов, предусмотренных пунктом 9 Стандарта государственной услуги «Выдача лицензии на экспорт и импорт продукции, подлежащей экспортному контролю», утвержденного приказом Министра по инвестициям и развитию Республики Казахстан от 30 апреля 2015 года № 563 «Об утверждении стандартов государственных услуг в области промышленности и экспортного контроля» (зарегистрирован в Реестре государственной регистрации нормативных правовых актов за № 11636) (далее - Стандарт).

5. Содержание каждой процедуры (действия), входящей в состав процесса оказания государственной услуги и длительность его выполнения:

1) при выдаче лицензии, переоформлении лицензии и (или) приложения к лицензии в случае реорганизации услугополучателя в форме выделения или разделения:

специалист канцелярии услугодателя в течение 15 минут регистрирует на портале заявление услугополучателя и направляет их руководителю Управления экспортного контроля и лицензирования (далее - Управление);

руководитель Управления в течение 15 минут рассматривает заявление и направляет для исполнения главному эксперту (эксперту) Управления;

главный эксперт (эксперт) Управления проверяет пакет представленных документов в соответствии с пунктом 9 Стандарта:

в случае если услугополучателем представлен не полный пакет документов, необходимых для оказания государственной услуги, в срок не более 2 рабочих дней со дня получения представленных документов услугодателю, оформляет мотивированный отказ в дальнейшем рассмотрении заявления;

в случае если услугополучателем представлен полный пакет документов, необходимые для оказания государственной услуги, главный эксперт (эксперт) Управления в срок не более 2 рабочих дней со дня получения представленных документов услугодателю, направляет запрос в соответствующие государственные органы для получения согласования;

главный эксперт (эксперт) Управления, в срок 27 рабочих дней рассматривает документы услугополучателя, необходимых для оказания государственной услуги, на его соответствие условиям выдачи лицензии, переоформления лицензии и (или) приложения к лицензии подготавливает и вносит результат оказания государственной услуги на предварительное согласование руководителю Управления;

руководитель Управления услугодателя в течение 15 минут согласовывает результат оказания государственной услуги;

руководитель услугодателя в течение 15 минут после согласования руководителя Управления подписывает результат оказания государственной услуги;

2) при выдаче переоформленной лицензии и (или) приложения к лицензии:

специалист канцелярии услугодателя в течение 15 минут регистрирует на портале заявление услугополучателя и направляет их руководителю Управления экспортного контроля и лицензирования (далее - Управление);

руководитель Управления (при его наличии на рабочем месте) в течение 15 минут рассматривает заявление и направляет для исполнения главному эксперту (эксперту) Управления;

в случае если услугополучателем представлен не полный пакет документов, необходимых для оказания государственной услуги, в срок не более 1 рабочего дня получения представленных документов услугодателю, главный эксперт (эксперт) Управления оформляет мотивированный отказ в дальнейшем рассмотрении заявления;

в случае если услугополучателем представлен полный пакет документов, необходимые для оказания государственной услуги, главный эксперт (эксперт) Управления в срок не более 1 рабочего дня со дня получения представленных документов услугодателю, направляет запрос в соответствующие государственные органы для получения согласования;

главный эксперт (эксперт) Управления, в срок 1 рабочих дней рассматривает документы услугополучателя, необходимых для оказания государственной услуги, на его соответствие условиям переоформления лицензии и (или) приложения к лицензии подготавливает и вносит результат оказания государственной услуги на предварительное согласование руководителю Управления;

руководитель Управления услугодателя в течение 15 минут согласовывает результат оказания государственной услуги;

руководитель услугодателя в течение 15 минут после согласования руководителя Управления подписывает результат оказания государственной услуги.

6. Результат процедуры (действия) по оказанию государственной услуги, который служит основанием для начала выполнения следующей процедуры (действия):

1) регистрация представленного заявления услугополучателя, необходимого для оказания государственной услуги, специалистом канцелярии услугодателя на портале и направление его руководителю Управления;

2) назначение задачи руководителем Управления главному эксперту (эксперту) Управления;

3) оформление главным экспертом (экспертом) Управления лицензия, переоформление лицензии на экспорт и импорт продукции, подлежащей экспортному контролю и передача его для подписания руководителю услугодателя;

4) выдача лицензия, переоформление лицензии на экспорт и импорт продукции, подлежащей экспортному контролю услугополучателю.

 

 

Глава 3. Описание порядка взаимодействия структурных подразделений
(работников) услугодателя в процессе оказания государственной услуги

 

7. Перечень структурных подразделений (работников) услугодателя, которые участвуют в процедуре оказания государственной услуги:

1) специалист канцелярии услугодателя;

2) руководитель услугодателя;

3) руководитель Управления;

4) главный эксперт (эксперт).

8. Описание последовательности процедур (действий) между структурными подразделениями (работниками) услугодателя:

1) при выдаче лицензии, переоформлении лицензии и (или) приложения к лицензии в случае реорганизации услугополучателя в форме выделения или разделения:

специалист канцелярии услугодателя в течение 15 минут регистрирует на портале заявление услугополучателя и направляет их руководителю Управления экспортного контроля и лицензирования (далее - Управление);

руководитель Управления в течение 15 минут рассматривает заявление и направляет для исполнения главному эксперту (эксперту) Управления;

главный эксперт (эксперт) Управления проверяет пакет представленных документов в соответствии с пунктом 9 Стандарта:

в случае если услугополучателем представлен не полный пакет документов, необходимых для оказания государственной услуги, в срок не более 2 рабочих дней со дня получения представленных документов услугодателю, оформляет мотивированный отказ в дальнейшем рассмотрении заявления;

в случае если услугополучателем представлен полный пакет документов, необходимые для оказания государственной услуги, главный эксперт (эксперт) Управления в срок не более 2 рабочих дней со дня получения представленных документов услугодателю, направляет запрос в соответствующие государственные органы для получения согласования;

главный эксперт (эксперт) Управления, в срок 27 рабочих дней рассматривает документы услугополучателя, необходимых для оказания государственной услуги, на его соответствие условиям выдачи лицензии, переоформления лицензии и (или) приложения к лицензии подготавливает и вносит результат оказания государственной услуги на предварительное согласование руководителю Управления;

руководитель Управления услугодателя в течение 15 минут согласовывает результат оказания государственной услуги;

руководитель услугодателя в течение 15 минут после согласования руководителя Управления подписывает результат оказания государственной услуги;

2) при выдаче переоформленной лицензии и (или) приложения к лицензии:

специалист канцелярии услугодателя в течение 15 минут регистрирует на портале заявление услугополучателя и направляет их руководителю Управления экспортного контроля и лицензирования (далее - Управление);

руководитель Управления (при его наличии на рабочем месте) в течение 15 минут рассматривает заявление и направляет для исполнения главному эксперту (эксперту) Управления;

в случае если услугополучателем представлен не полный пакет документов, необходимых для оказания государственной услуги, в срок не более 1 рабочего дня получения представленных документов услугодателю, главный эксперт (эксперт) Управления оформляет мотивированный отказ в дальнейшем рассмотрении заявления;

в случае если услугополучателем представлен полный пакет документов, необходимые для оказания государственной услуги, главный эксперт (эксперт) Управления в срок не более 1 рабочего дня со дня получения представленных документов услугодателю, направляет запрос в соответствующие государственные органы для получения согласования;

главный эксперт (эксперт) Управления, в срок 1 рабочих дней рассматривает документы услугополучателя, необходимых для оказания государственной услуги, на его соответствие условиям переоформления лицензии и (или) приложения к лицензии подготавливает и вносит результат оказания государственной услуги на предварительное согласование руководителю Управления;

руководитель Управления услугодателя в течение 15 минут согласовывает результат оказания государственной услуги;

руководитель услугодателя в течение 15 минут после согласования руководителя Управления подписывает результат оказания государственной услуги.

9. Описание последовательности процедур (действий) между структурными подразделениями (работниками) услугодателя приведены в блок-схеме взаимодействия структурных подразделений (работников) услугодателя согласно приложению 1 к настоящему Регламенту государственной услуги «Выдача лицензии на экспорт и импорт продукции, подлежащей экспортному контролю».

 

 

Глава 4. Описание порядка использования информационных систем
в процессе оказания государственной услуги

10. Описание порядка обращения и последовательности процедур (действий) услугодателя и услугополучателя при оказании государственной услуги через портал.

1) описание последовательности процедур (действий) услугодателя:

процедура 1 - ввод сотрудником услугодателя логина и пароля (процедура авторизации) в информационной системе «Государственная база данных «Е-лицензирование» (далее - ИС ГБД ЕЛ) для оказания государственной услуги;

условие 1 - проверка в ИС ГБД ЕЛ подлинности данных о зарегистрированном сотруднике услугодателя через логин и пароль;

процедура 2 - формирование ИС ГБД ЕЛ сообщения об отказе в авторизации в связи с имеющимися нарушениями в данных сотрудника услугодателя;

процедура 3 - выбор сотрудником услугодателя услуги, указанной в настоящем регламенте, вывод на экран формы запроса для оказания услуги и ввод сотрудником услугодателя данных услугополучателя;

процедура 4 - направление запроса через шлюз электронного правительства в государственную базу данных «Юридические лица» (далее - ГБД ЮЛ) о данных услугополучателя;

условие 2 - проверка наличия данных услугополучателя в ГБД ЮЛ;

процедура 5 - формирование сообщения о невозможности получения данных в связи с отсутствием данных услугополучателя в ГБД ЮЛ;

процедура 6 - заполнение формы запроса в части отметки о наличии документов в бумажной форме;

процедура 7 - регистрация запроса в ИС ГБД ЕЛ и обработка услуги в ИС ГБД ЕЛ;

процедура 8 - проверка услугодателем соответствия услугополучателя условиям выдачи/переоформления лицензии и (или) приложения к лицензии, а также предъявляемым квалификационным требованиям;

процедура 9 - получение услугополучателем результата оказания государственной услуги, сформированной ИС ГБД ЕЛ;

2) описание порядка обращения и последовательности процедур (действий) услугополучателя:

процедура 1 - ввод услугополучателем пароля (процедура авторизации) на Портале для получения государственной услуги;

условие 1 - проверка на Портале подлинности данных о зарегистрированном услугополучателе через логин (индивидуальный идентификационный номер/бизнес-идентификационный номер) и пароль;

процедура 2 - формирование Порталом сообщения об отказе в авторизации в связи с имеющимися нарушениями в данных услугополучателя;

процедура 3 - выбор услугополучателем услуги, указанной в настоящем регламенте, вывод на экран формы запроса для оказания услуги и заполнение услугополучателем формы (ввод данных) с учетом ее структуры и форматных требований, прикреплением к форме запроса необходимых документов в электронном виде;

процедура 4 - оплата услуги посредством платежного шлюза электронного правительства, а затем эта информация поступает в ИС ГБД ЕЛ;

условие 2 - проверка в ИС ГБД ЕЛ факта оплаты за оказание государственной услуги;

процедура 5 - формирование сообщения об отказе в запрашиваемой государственной услуге, в связи с отсутствием оплаты за оказание услуги в ИС ГБД ЕЛ;

процедура 6 - выбор услугополучателем регистрационного свидетельства электронной цифровой подписи (далее - ЭЦП) для удостоверения (подписания) запроса;

процедура 7 - удостоверение (подписание) посредством ЭЦП услугополучателя заполненной формы (введенных данных) запроса на оказание услуги;

процедура 8 - регистрация электронного документа (запроса услугополучателя) в ИС ГБД ЕЛ и обработка запроса в ИС ГБД ЕЛ;

процедура 9 - проверка услугодателем соответствия услугополучателя условиям выдачи/переоформления лицензии, а также предъявляемым квалификационным требованиям;

процедура 10 - получение услугополучателем результата оказания государственной услуги, сформированного ИС ГБД ЕЛ.

Диаграмма функционального взаимодействия информационных систем, задействованных в оказании государственной услуги через услугодателя, и диаграмма функционального взаимодействия информационных систем, задействованных в оказании государственной услуги через услугополучателя, приведены в приложениях 2, 3 к настоящему регламенту.

 

Приложение 1
к регламенту государственной услуги
«Выдача лицензии на экспорт и импорт
продукции, подлежащей экспортному контролю»

 

Описание последовательности процедур (действий) работников

 

 

Приложение 2
к регламенту государственной услуги
«Выдача лицензии на экспорт и импорт
продукции, подлежащей экспортному контролю»

 

Диаграмма функционального взаимодействия информационных систем,

задействованных в оказании государственной услуги через услугодателя

 

 

Приложение 3
к регламенту государственной услуги
«Выдача лицензии на экспорт и импорт
продукции, подлежащей экспортному контролю»

 

Диаграмма функционального взаимодействия информационных систем, задействованных

в оказании государственной услуги через услугополучателя

 

Приложение 7

к приказу Министра индустрии
и инфраструктурного развития
Республики Казахстан
от 18 марта 2019 года № 138

Приложение 7
к приказу исполняющего
обязанности Министра
по инвестициям и развитию
Республики Казахстан
от 28 мая 2015 года № 619

 

Регламент государственной услуги
«Выдача разрешения на переработку продукции вне территории Республики Казахстан»

Глава 1. Общие положения

1. Государственная услуга оказывается Комитетом индустриального развития и промышленной безопасности Министерства индустрии и инфраструктурного развития Республики Казахстан (далее - услугодатель).

Прием заявлений и выдача результатов оказания государственной услуги осуществляется через веб-портал «электронного правительства»www.egov.kz или веб-портал «Е-лицензирование»: www.elicense.kz (далее - портал).

2. Форма оказания государственной услуги - электронная.

3. Результат оказания государственной услуги - разрешение на переработку продукции вне территории Республики Казахстан.

Форма предоставления результата оказания государственной услуги: электронная.

 

 

Глава 2. Описание порядка действий структурных подразделений
(работников) услугодателя в процессе оказания государственной услуги

4. Основанием для начала процедуры (действия) по оказанию государственной услуги является получение услугодателем представленных услугополучателем документов, предусмотренных пунктом 9 Стандарта государственной услуги «Выдача разрешения на переработку продукции вне территории Республики Казахстан», утвержденного приказом Министра по инвестициям и развитию Республики Казахстан от 30 апреля 2015 года № 563 «Об утверждении стандартов государственных услуг в области промышленности и экспортного контроля» (зарегистрирован в Реестре государственной регистрации нормативных правовых актов за № 11636).

5. Содержание каждой процедуры (действия), входящей в состав процесса оказания государственной услуги и длительность его выполнения:

1) специалист канцелярии услугодателя в течение 15 минут регистрирует на портале заявление услугополучателя, и направляет их руководителю Управления экспортного контроля и лицензирования (далее - Управление);

2) руководитель Управления в течение 15 минут рассматривает заявление и направляет для исполнения главному эксперту (эксперту) Управления;

3) главный эксперт (эксперт) Управления, в случае если услугополучателем представлен не полный пакет документов, необходимых для оказания государственной услуги, в срок не более 3 рабочих дней со дня получения представленных документов услугодателю, оформляет мотивированный отказ в дальнейшем рассмотрении заявления;

4) главный эксперт (эксперт) Управления, в срок 6 рабочих дней рассматривает документы услугополучателя, необходимых для оказания государственной услуги, на его соответствие условиям выдачи разрешение на переработку продукции вне территории Республики Казахстан, подготавливает и вносит результат оказания государственной услуги на предварительное согласование руководителю Управления;

5) руководитель Управления в течение 15 минут согласовывает результат оказания государственной услуги;

6) руководитель услугодателя в течение 15 минут после согласования руководителя Управления подписывает результат оказания государственной услуги.

6. Результат процедуры (действия) по оказанию государственной услуги, который служит основанием для начала выполнения следующей процедуры (действия):

1) регистрация представленного заявления услугополучателя, необходимого для оказания государственной услуги, специалистом канцелярии услугодателя на портале и направление его руководителю Управления;

2) назначение задачи руководителем Управления главному эксперту (эксперту) Управления;

3) оформление главным экспертом (экспертом) Управления разрешения на переработку продукции вне территории Республики Казахстан и направление его для подписания руководителю услугодателя;

4) выдача разрешения на переработку продукции вне территории Республики Казахстан.

 

 

Глава 3. Описание порядка взаимодействия структурных подразделений
(работников) услугодателя в процессе оказания государственной услуги

7. Перечень структурных подразделений (работников) услугодателя, которые участвуют в процедуре оказания государственной услуги:

1) специалист канцелярии услугодателя;

2) руководитель услугодателя;

3) руководитель Управления;

4) главный эксперт (эксперт).

8. Описание последовательности процедур (действий) между структурными подразделениями (работниками) услугодателя:

1) специалист канцелярии услугодателя в течение 15 минут регистрирует на портале заявление услугополучателя, и направляет их руководителю Управления экспортного контроля и лицензирования (далее - Управление);

2) руководитель Управления в течение 15 минут рассматривает заявление и направляет для исполнения главному эксперту (эксперту) Управления;

3) главный эксперт (эксперт) Управления, в случае если услугополучателем представлен не полный пакет документов, необходимых для оказания государственной услуги, в срок не более 3 рабочих дней со дня получения представленных документов услугодателю, оформляет мотивированный отказ в дальнейшем рассмотрении заявления;

4) главный эксперт (эксперт) Управления, в срок 6 рабочих дней рассматривает документы услугополучателя, необходимых для оказания государственной услуги, на его соответствие условиям выдачи разрешение на переработку продукции вне территории Республики Казахстан, подготавливает и вносит результат оказания государственной услуги на предварительное согласование руководителю Управления;

5) руководитель Управления в течение 15 минут согласовывает результат оказания государственной услуги;

6) руководитель услугодателя в течение 15 минут после согласования руководителя Управления подписывает результат оказания государственной услуги.

9. Описание последовательности процедур (действий) между структурными подразделениями (работниками) услугодателя приведены в блок-схеме взаимодействия структурных подразделений (работников) услугодателя согласно приложению 1 к настоящему Регламенту государственной услуги «Выдача разрешения на переработку продукции вне территории Республики Казахстан».

 


Глава 4. Описание порядка использования информационных систем
в процессе оказания государственной услуги

10. Описание порядка обращения и последовательности процедур (действий) услугодателя и услугополучателя при оказании государственной услуги через Портал.

1) описание последовательности процедур (действий) услугодателя:

процедура 1 - ввод сотрудником услугодателя логина и пароля (процедура авторизации) в ИС ГБД ЕЛ для оказания государственной услуги;

условие 1 - проверка в ИС ГБД ЕЛ подлинности данных о зарегистрированном сотруднике услугодателя через логин и пароль;

процедура 2 - формирование ИС ГБД ЕЛ сообщения об отказе в авторизации в связи с имеющимися нарушениями в данных сотрудника услугодателя;

процедура 3 - выбор сотрудником услугодателя услуги, указанной в настоящем регламенте, вывод на экран формы запроса для оказания услуги и ввод сотрудником услугодателя данных услугополучателя;

процедура 4 - направление запроса через ШЭП в ГБД ЮЛ/ГБД ФЛ;

условие 2 - проверка наличия данных услугополучателя в ГБД ЮЛ/ГБД ФЛ;

процедура 5 - формирование сообщения о невозможности получения данных в связи с отсутствием данных услугополучателя в ГБД ЮЛ/ГБД ФЛ;

процедура 6 - заполнение формы запроса в части отметки о наличии документов в бумажной форме;

процедура 7 - регистрация запроса в ИС ГБД ЕЛ и обработка услуги в ИС ГБД ЕЛ;

процедура 8 - проверка услугодателем соответствия услугополучателя условиям и требованиям выдачи разрешения;

процедура 9 - получение услугополучателем результата оказания государственной услуги;

2) описание порядка обращения и последовательности процедур (действий) услугополучателя:

процедура 1 - ввод услугополучателем пароля (процедура авторизации) на Портале для получения государственной услуги;

условие 1 - проверка на Портале подлинности данных о зарегистрированном услугополучателе через логин (индивидуальный идентификационный номер / бизнес-идентификационный номер) и пароль;

процедура 2 - формирование Порталом сообщения об отказе в авторизации в связи с имеющимися нарушениями в данных услугополучателя;

процедура 3 - выбор услугополучателем услуги, указанной в настоящем регламенте, вывод на экран формы запроса для оказания услуги и заполнение услугополучателем формы (ввод данных) с учетом ее структуры и форматных требований, прикреплением к форме запроса необходимых документов в электронном виде;

процедура 4 - выбор услугополучателем регистрационного свидетельства ЭЦП для удостоверения (подписания) запроса;

процедура 5 - удостоверение (подписание) посредством ЭЦП услугополучателя заполненной формы (введенных данных) запроса на оказание услуги;

процедура 6 - регистрация электронного документа (запроса услугополучателя) в ИС ГБД ЕЛ и обработка запроса в ИС ГБД ЕЛ;

процедура 7 - проверка услугодателем соответствия услугополучателя условиям и требованиям выдачи разрешения;

процедура 8 - получение услугополучателем результата оказания государственной услуги.

Диаграмма функционального взаимодействия информационных систем, задействованных в оказании государственной услуги через услугодателя, и диаграмма функционального взаимодействия информационных систем, задействованных в оказании государственной услуги через услугополучателя, приведены в приложениях 2, 3 к настоящему регламенту.

 

 

Приложение 1
к регламенту государственной услуги
«Выдача разрешения на переработку
продукции вне территории
Республики Казахстан»

 

Описание последовательности процедур (действий) работников

 

 

Приложение 2
к регламенту государственной услуги
«Выдача разрешения на переработку
продукции вне территории
Республики Казахстан»

 

Диаграмма функционального взаимодействия информационных систем,

задействованных в оказании государственной услуги через услугодателя

 

 

Приложение 3
к регламенту государственной услуги
«Выдача разрешения на переработку
продукции вне территории
Республики Казахстан»

 

Диаграмма функционального взаимодействия информационных систем,

задействованных в оказании государственной услуги через услугополучателя

 

 

Приложение 8

к приказу Министра индустрии
и инфраструктурного развития
Республики Казахстан
от 18 марта 2019 года № 138

Приложение 8
к приказу исполняющего обязанности
Министра по инвестициям и развитию
Республики Казахстан
от 28 мая 2015 года № 619

 


Регламент государственной услуги
«Выдача разрешения на реэкспорт продукции, подлежащей экспортному контролю»

Глава 1. Общие положения

1. Государственная услуга оказывается Комитетом индустриального развития и промышленной безопасности Министерства индустрии и инфраструктурного развития Республики Казахстан (далее - услугодатель).

Прием заявлений и выдача результатов оказания государственной услуги осуществляется через некоммерческое акционерное общество «Государственная корпорация» (далее - Государственная корпорация), веб-портал «электронного правительства» www.egov.kz или веб-портал «Е-лицензирование»: www.elicense.kz (далее - Портал).

2. Форма оказания государственной услуги - электронная / бумажная.

3. Результат оказания государственной услуги - разрешение на реэкспорт продукции, подлежащей экспортному контролю.

Форма предоставления результата оказания государственной услуги: бумажная и (или) электронная.

 


Глава 2. Описание порядка действий структурных подразделений
(работников) услугодателя в процессе оказания государственной услуги

4. Основанием для начала процедуры (действия) по оказанию государственной услуги является получение услугодателем представленных услугополучателем документов, предусмотренных пунктом 9 Стандарта государственной услуги «Выдача разрешения на реэкспорт продукции, подлежащей экспортному контролю», утвержденного приказом Министра по инвестициям и развитию Республики Казахстан от 30 апреля 2015 года № 563 «Об утверждении стандартов государственных услуг в области промышленности и экспортного контроля» (зарегистрирован в Реестре государственной регистрации нормативных правовых актов за № 11636).

5. Содержание каждой процедуры (действия), входящей в состав процесса оказания государственной услуги и длительность его выполнения:

1) специалист канцелярии услугодателя в течение 15 минут регистрирует на портале заявление услугополучателя и направляет их руководителю Управления экспортного контроля и лицензирования (далее - Управление);

2) руководитель Управления в течение 15 минут рассматривает заявление и направляет для исполнения главному эксперту (эксперту) Управления;

3) главный эксперт (эксперт) Управления, в случае если услугополучателем представлен не полный пакет документов, необходимые для оказания государственной услуги, в срок не более 3 рабочих дней со дня получения представленных документов услугодателю, оформляет мотивированный отказ в дальнейшем рассмотрении заявления;

в случае если услугополучателем представлен полный пакет документов, необходимых для оказания государственной услуги, главный эксперт (эксперт) Управления в срок не более 3 рабочих дней со дня получения представленных документов услугодателю, направляет запрос в соответствующие государственные органы для получения согласования;

4) главный эксперт (эксперт) Управления, в срок 26 рабочих дней рассматривает документы услугополучателя, необходимые для оказания государственной услуги, на их соответствие условиям выдачи разрешения на реэкспорт продукции, подлежащей экспортному контролю, подготавливает и вносит результат оказания государственной услуги на предварительное согласование руководителю Управления;

5) руководитель Управления в течение 15 минут согласовывает результат оказания государственной услуги;

6) руководитель услугодателя в течение 15 минут после согласования руководителя Управления подписывает результат оказания государственной услуги.

6. Результат процедуры (действия) по оказанию государственной услуги, который служит основанием для начала выполнения следующей процедуры (действия):

1) регистрация представленного заявления услугополучателя, необходимого для оказания государственной услуги, специалистом канцелярии услугодателя на портале и направление его руководителю Управления;

2) назначение задачи руководителем Управления главному эксперту (эксперту) Управления;

3) оформление главным экспертом (экспертом) Управления выдачи разрешения на реэкспорт продукции, подлежащей экспортному контролю и передача его для подписания руководителю услугодателя;

4) выдача разрешения на реэкспорт продукции, подлежащей экспортному контролю.

 

 

Глава 3. Описание порядка взаимодействия структурных подразделений
(работников) услугодателя в процессе оказания государственной услуги

7. Перечень структурных подразделений (работников) услугодателя, которые участвуют в процедуре оказания государственной услуги:

1) специалист канцелярии услугодателя;

2) руководитель услугодателя;

3) руководитель Управления;

4) главный эксперт (эксперт).

8. Описание последовательности процедур (действий) между структурными подразделениями (работниками) услугодателя:

1) специалист канцелярии услугодателя в течение 15 минут регистрирует на портале заявление услугополучателя и направляет их руководителю Управления экспортного контроля и лицензирования (далее - Управление);

2) руководитель Управления в течение 15 минут рассматривает заявление и направляет для исполнения главному эксперту (эксперту) Управления;

3) главный эксперт (эксперт) Управления, в случае если услугополучателем представлен не полный пакет документов, необходимые для оказания государственной услуги, в срок не более 3 рабочих дней со дня получения представленных документов услугодателю, оформляет мотивированный отказ в дальнейшем рассмотрении заявления;

в случае если услугополучателем представлен полный пакет документов, необходимых для оказания государственной услуги, главный эксперт (эксперт) Управления в срок не более 3 рабочих дней со дня получения представленных документов услугодателю, направляет запрос в соответствующие государственные органы для получения согласования;

4) главный эксперт (эксперт) Управления, в срок 26 рабочих дней рассматривает документы услугополучателя, необходимые для оказания государственной услуги, на их соответствие условиям выдачи разрешения на реэкспорт продукции, подлежащей экспортному контролю, подготавливает и вносит результат оказания государственной услуги на предварительное согласование руководителю Управления;

5) руководитель Управления в течение 15 минут согласовывает результат оказания государственной услуги;

6) руководитель услугодателя в течение 15 минут после согласования руководителя Управления подписывает результат оказания государственной услуги.

9. Описание последовательности процедур (действий) между структурными подразделениями (работниками) услугодателя приведены в блок-схеме взаимодействия структурных подразделений (работников) услугодателя согласно приложению 1 к настоящему Регламенту государственной услуги «Выдача разрешения на реэкспорт продукции, подлежащей экспортному контролю».

 

 

Глава 4. Описание порядка взаимодействия с Государственной корпорацией
и (или) иными услугодателями, а также порядка использования
информационных систем в процессе оказания государственной услуги

10. Описание порядка обращения в Государственную корпорацию, длительность обработки запроса услугополучателя:

1) описание порядка обращения в Государственную корпорацию:

процедура 1 - ввод работником Государственной корпорации в информационной системе мониторинга оказания государственных услуг (далее - ИС мониторинга оказания государственных услуг) логина и пароля (процесс авторизации) для оказания государственной услуги;

процедура 2 - идентификация работником Государственной корпорации личности лица, подписавшего заявление;

процедура 3 - выбор работником Государственной корпорации услуги, указанной в настоящем регламенте, вывод на экран формы запроса для оказания государственной услуги и ввод работником Государственной корпорации данных услугополучателя;

процедура 4 - направление работником Государственной корпорации запроса через шлюз электронного правительства (далее - ШЭП) в государственную базу данных «Юридические лица» (далее - ГБД ЮЛ) или государственную базу данных «Физические лица» (далее - ГБД ФЛ) о данных услугополучателя;

условие 1 - проверка наличия данных услугополучателя в ГБД ЮЛ/ГБД ФЛ;

процедура 5 - формирование сообщения о невозможности получения данных в связи с отсутствием данных услугополучателя в ГБД ЮЛ/ГБД ФЛ;

процедура 6 - работник Государственной корпорации получает письменное согласие услугополучателя на использование сведений, составляющих охраняемую законом тайну, содержащихся в информационных системах, если иное не предусмотрено законами Республики Казахстан;

условие 2 - правильность заполнения заявления и полнота представленного пакета документов в соответствии с перечнем в ИС мониторинга оказания государственных услуг;

процедура 7 - выдача работником Государственной корпорации расписки об отказе в приеме документов в случае предоставления услугополучателем неполного пакета документов;

процедура 8 - внесение работником Государственной корпорации списка предоставленных услугополучателем документов в ИС мониторинга оказания государственных услуг, сканирование документов, прикрепление их к форме запроса и, на основании письменного согласия услугополучателя, заверение запроса услугополучателя, а также оригиналов (копий) документов в форме электронных документов своей электронной цифровой подписью (далее - ЭЦП), выданной ему для использования в служебных целях;

процедура 9 - выдача работником Государственной корпорации расписки с штрих-кодом, присвоенным ИС мониторинга оказания государственных услуг, о приеме соответствующих документов от услугополучателя;

процедура 10 - направление работником Государственной корпорации пакета документов услугодателю в форме электронных копий документов, удостоверенных ЭЦП, выданной ему для использования в служебных целях, через ШЭП в информационную систему «Государственная база данных «Е-лицензирование» (далее - ИС ГБД ЕЛ) для рассмотрения их на предмет соответствия условиям и требованиям выдачи гарантийного обязательства (сертификата конечного пользователя), а также направления результата оказания государственной услуги в Государственную корпорацию;

перечень документов и информация, которые необходимы услугодателю для оказания государственной услуги, определены пунктом 9 Стандарта государственной услуги «Выдача разрешения на реэкспорт продукции, подлежащей экспортному контролю»;

процедура 11 - выдача работником Государственной корпорации результата оказания государственной услуги услугополучателю в срок, указанный в расписке на получение;

2) длительность обработки запроса услугополучателя в Государственной корпорации - не более 15 минут.

Диаграмма функционального взаимодействия информационных систем, задействованных в оказании государственной услуги при обращении в Государственную корпорацию, приведена в приложении 2 к настоящему регламенту.

11. Описание процесса получения результата оказания государственной услуги через Государственную корпорацию, его длительность:

1) способ получения результата оказания государственной услуги - нарочно в Государственной корпорации;

2) длительность процесса получения результата оказания государственной услуги - не более 15 минут;

3) порядок получения результата оказания государственной услуги:

процедура 1 - услугополучатель (либо его представитель по доверенности) на основании отрывного талона бланка заявления - расписки в указанный в нем срок с предъявлением документа, удостоверяющего его личность, обращается к работнику Государственной корпорации;

процедура 2 - работник Государственной корпорации принимает у услугополучателя расписку со штрих-кодом для сканирования штрих-кода на расписке;

процедура 3 - работник Государственной корпорации, с отметкой услугополучателя в получении, выдает ему результат оказания государственной услуги.

Не выданные в срок, по вине услугополучателя, документы в течение одного месяца хранятся в Государственной корпорации.

12. Описание порядка обращения и последовательности процедур (действий) услугодателя и услугополучателя при оказании государственной услуги через Портал.

1) описание последовательности процедур (действий) услугодателя:

процедура 1 - ввод сотрудником услугодателя логина и пароля (процедура авторизации) в ИС ГБД ЕЛ для оказания государственной услуги;

условие 1 - проверка в ИС ГБД ЕЛ подлинности данных о зарегистрированном сотруднике услугодателя через логин и пароль;

процедура 2 - формирование ИС ГБД ЕЛ сообщения об отказе в авторизации в связи с имеющимися нарушениями в данных сотрудника услугодателя;

процедура 3 - выбор сотрудником услугодателя услуги, указанной в настоящем регламенте, вывод на экран формы запроса для оказания услуги и ввод сотрудником услугодателя данных услугополучателя;

процедура 4 - направление запроса через ШЭП в ГБД ЮЛ/ГБД ФЛ;

условие 2 - проверка наличия данных услугополучателя в ГБД ЮЛ/ГБД ФЛ;

процедура 5 - формирование сообщения о невозможности получения данных в связи с отсутствием данных услугополучателя в ГБД ЮЛ/ГБД ФЛ;

процедура 6 - заполнение формы запроса в части отметки о наличии документов в бумажной форме;

процедура 7 - регистрация запроса в ИС ГБД ЕЛ и обработка услуги в ИС ГБД ЕЛ;

процедура 8 - проверка услугодателем соответствия услугополучателя условиям и требованиям выдачи гарантийного обязательства (сертификата конечного пользователя);

процедура 9 - получение услугополучателем результата оказания государственной услуги;

2) описание порядка обращения и последовательности процедур (действий) услугополучателя:

процедура 1 - ввод услугополучателем пароля (процедура авторизации) на Портале для получения государственной услуги;

условие 1 - проверка на Портале подлинности данных о зарегистрированном услугополучателе через логин (индивидуальный идентификационный номер/бизнес-идентификационный номер) и пароль;

процедура 2 - формирование Порталом сообщения об отказе в авторизации в связи с имеющимися нарушениями в данных услугополучателя;

процедура 3 - выбор услугополучателем услуги, указанной в настоящем регламенте, вывод на экран формы запроса для оказания услуги и заполнение услугополучателем формы (ввод данных) с учетом ее структуры и форматных требований, прикреплением к форме запроса необходимых документов в электронном виде;

процедура 4 - выбор услугополучателем регистрационного свидетельства ЭЦП для удостоверения (подписания) запроса;

процедура 5 - удостоверение (подписание) посредством ЭЦП услугополучателя заполненной формы (введенных данных) запроса на оказание услуги;

процедура 6 - регистрация электронного документа (запроса услугополучателя) в ИС ГБД ЕЛ и обработка запроса в ИС ГБД ЕЛ;

процедура 7 - проверка услугодателем соответствия услугополучателя условиям и требованиям выдачи гарантийного обязательства (сертификата конечного пользователя);

процедура 8 - получение услугополучателем результата оказания государственной услуги.

Диаграмма функционального взаимодействия информационных систем, задействованных в оказании государственной услуги через услугодателя, и диаграмма функционального взаимодействия информационных систем, задействованных в оказании государственной услуги через услугополучателя, приведены в приложениях 3, 4 к настоящему регламенту.

 

 

Приложение 1
к регламенту государственной услуги
«Выдача разрешения на реэкспорт
продукции, подлежащей экспортному контролю»

 

Описание последовательности процедур (действий) работников

 

 

Приложение 2
к регламенту государственной услуги
«Выдача разрешения на реэкспорт
продукции, подлежащей экспортному контролю»

 

Диаграмма функционального взаимодействия информационных систем, задействованных

в оказании государственной услуги через Государственную корпорацию

 

 

Приложение 3
к регламенту государственной услуги
«Выдача разрешения на реэкспорт
продукции, подлежащей экспортному контролю»

 

Диаграмма функционального взаимодействия информационных систем,

задействованных в оказании государственной услуги через услугодателя

 

 

Приложение 4
к регламенту государственной услуги
«Выдача разрешения на реэкспорт
продукции, подлежащей экспортному контролю»

 

Диаграмма функционального взаимодействия информационных систем,

задействованных в оказании государственной услуги через услугополучателя

 

 

 

Приложение 9

к приказу Министра индустрии
и инфраструктурного развития
Республики Казахстан
от 18 марта 2019 года № 138

Приложение 9
к приказу исполняющего обязанности
Министра по инвестициям и развитию
Республики Казахстан
от 28 мая 2015 года № 619

 

 

Регламент государственной услуги
«Выдача гарантийного обязательства (сертификата конечного пользователя)»
Глава 1. Общие положения

1. Государственная услуга оказывается Комитетом индустриального развития и промышленной безопасности Министерства индустрии и инфраструктурного развития Республики Казахстан (далее - услугодатель).

Прием заявлений и выдача результатов оказания государственной услуги осуществляется:

через некоммерческое акционерное общество «Государственная корпорация «Правительство для граждан» (далее - Государственная корпорация);

через веб-портал «электронного правительства» www.egov.kz или веб-портал «Е-лицензирование»: www.elicense.kz (далее - портал).

2. Форма оказания государственной услуги - электронная / бумажная.

3. Результат оказания государственной услуги - гарантийное обязательство (сертификат конечного пользователя).

Форма предоставления результата оказания государственной услуги: бумажная и (или) электронная.

 

 

Глава 2. Описание порядка действий структурных подразделений
(работников) услугодателя в процессе оказания государственной услуги

4. Основанием для начала процедуры (действия) по оказанию государственной услуги является получение услугодателем представленных услугополучателем документов, предусмотренных пунктом 9 Стандарта государственной услуги «Выдача гарантийного обязательства (сертификата конечного пользователя)», утвержденного приказом Министра по инвестициям и развитию Республики Казахстан от 30 апреля 2015 года № 563 «Об утверждении стандартов государственных услуг в области промышленности и экспортного контроля» (зарегистрирован в Реестре государственной регистрации нормативных правовых актов за № 11636).

5. Содержание каждой процедуры (действия), входящей в состав процесса оказания государственной услуги и длительность его выполнения:

1) специалист канцелярии услугодателя в течение 15 минут регистрирует на портале заявление услугополучателя и направляет их руководителю Управления экспортного контроля и лицензирования (далее - Управление);

2) руководитель Управления в течение 15 минут рассматривает заявление и направляет для исполнения главному эксперту (эксперту) Управления;

3) главный эксперт (эксперт) Управления, в случае если услугополучателем представлен не полный пакет документов, необходимых для оказания государственной услуги, в срок не более 2 рабочих дней со дня получения представленных документов услугодателю, оформляет мотивированный отказ в дальнейшем рассмотрении заявления;

4) главный эксперт (эксперт) Управления, в срок 4 рабочих дней рассматривает документы услугополучателя, необходимых для оказания государственной услуги, на его соответствие условиям выдачи гарантийного обязательства (сертификат конечного пользователя), подготавливает и вносит результат оказания государственной услуги на предварительное согласование руководителю Управления;

5) руководитель Управления в течение 15 минут согласовывает результат оказания государственной услуги;

6) руководитель услугодателя в течение 15 минут после согласования руководителя Управления подписывает результат оказания государственной услуги.

6. Результат процедуры (действия) по оказанию государственной услуги, который служит основанием для начала выполнения следующей процедуры (действия):

1) регистрация представленного заявления услугополучателя, необходимого для оказания государственной услуги, специалистом канцелярии услугодателя на портале и направление его руководителю Управления;

2) назначение задачи руководителем Управления главному эксперту (эксперту) Управления;

3) оформление главным экспертом (экспертом) Управления гарантийного обязательства (сертификат конечного пользователя) и направление его на подписание руководителю услугодателя;

4) выдача гарантийного обязательства (сертификат конечного пользователя).

 

 

Глава 3. Описание порядка взаимодействия структурных подразделений
(работников) услугодателя в процессе оказания государственной услуги

7. Перечень структурных подразделений (работников) услугодателя, которые участвуют в процедуре оказания государственной услуги:

1) специалист канцелярии услугодателя;

2) руководитель услугодателя;

3) руководитель Управления;

4) главный эксперт (эксперт).

8. Описание последовательности процедур (действий) между структурными подразделениями (работниками) услугодателя:

1) специалист канцелярии услугодателя в течение 15 минут регистрирует на портале заявление услугополучателя и направляет их руководителю Управления экспортного контроля и лицензирования (далее - Управление);

2) руководитель Управления в течение 15 минут рассматривает заявление и направляет для исполнения главному эксперту (эксперту) Управления;

3) главный эксперт (эксперт) Управления, в случае если услугополучателем представлен не полный пакет документов, необходимых для оказания государственной услуги, в срок не более 2 рабочих дней со дня получения представленных документов услугодателю, оформляет мотивированный отказ в дальнейшем рассмотрении заявления;

4) главный эксперт (эксперт) Управления, в срок 4 рабочих дней рассматривает документы услугополучателя, необходимых для оказания государственной услуги, на его соответствие условиям выдачи гарантийного обязательства (сертификат конечного пользователя), подготавливает и вносит результат оказания государственной услуги на предварительное согласование руководителю Управления;

5) руководитель Управления в течение 15 минут согласовывает результат оказания государственной услуги;

6) руководитель услугодателя в течение 15 минут после согласования руководителя Управления подписывает результат оказания государственной услуги.

9. Описание последовательности процедур (действий) между структурными подразделениями (работниками) услугодателя приведены в блок-схеме взаимодействия структурных подразделений (работников) услугодателя согласно приложению 1 к настоящему Регламенту государственной услуги «Выдача гарантийного обязательства (сертификата конечного пользователя)».

 

 

Глава 4. Описание порядка взаимодействия с Государственной
корпорацией и (или) иными услугодателями, а также порядка
использования информационных систем в процессе оказания государственной услуги

10. Описание порядка обращения в Государственную корпорацию, длительность обработки запроса услугополучателя:

1) описание порядка обращения в Государственную корпорацию:

процедура 1 - ввод работником Государственной корпорации в информационной системе мониторинга оказания государственных услуг (далее - ИС мониторинга оказания государственных услуг) логина и пароля (процесс авторизации) для оказания государственной услуги;

процедура 2 - идентификация работником Государственной корпорации личности лица, подписавшего заявление;

процедура 3 - выбор работником Государственной корпорации услуги, указанной в настоящем регламенте, вывод на экран формы запроса для оказания государственной услуги и ввод работником Государственной корпорации данных услугополучателя;

процедура 4 - направление работником Государственной корпорации запроса через шлюз электронного правительства (далее - ШЭП) в государственную базу данных «Юридические лица» (далее - ГБД ЮЛ) или государственную базу данных «Физические лица» (далее - ГБД ФЛ) о данных услугополучателя;

условие 1 - проверка наличия данных услугополучателя в ГБД ЮЛ/ГБД ФЛ;

процедура 5 - формирование сообщения о невозможности получения данных в связи с отсутствием данных услугополучателя в ГБД ЮЛ/ГБД ФЛ;

процедура 6 - работник Государственной корпорации получает письменное согласие услугополучателя на использование сведений, составляющих охраняемую законом тайну, содержащихся в информационных системах, если иное не предусмотрено законами Республики Казахстан;

условие 2 - правильность заполнения заявления и полнота представленного пакета документов в соответствии с перечнем в ИС мониторинга оказания государственных услуг;

процедура 7 - выдача работником Государственной корпорации расписки об отказе в приеме документов в случае предоставления услугополучателем неполного пакета документов;

процедура 8 - внесение работником Государственной корпорации списка предоставленных услугополучателем документов в ИС мониторинга оказания государственных услуг, сканирование документов, прикрепление их к форме запроса и, на основании письменного согласия услугополучателя, заверение запроса услугополучателя, а также оригиналов (копий) документов в форме электронных документов своей электронной цифровой подписью (далее - ЭЦП), выданной ему для использования в служебных целях;

процедура 9 - выдача работником Государственной корпорации расписки с штрих-кодом, присвоенным ИС мониторинга оказания государственных услуг, о приеме соответствующих документов от услугополучателя;

процедура 10 - направление работником Государственной корпорации пакета документов услугодателю в форме электронных копий документов, удостоверенных ЭЦП, выданной ему для использования в служебных целях, через ШЭП в информационную систему «Государственная база данных «Е-лицензирование» (далее - ИС ГБД ЕЛ) для рассмотрения их на предмет соответствия условиям и требованиям выдачи гарантийного обязательства (сертификата конечного пользователя), а также направления результата оказания государственной услуги в Государственную корпорацию;

перечень документов и информация, которые необходимы услугодателю для оказания государственной услуги, определены пунктом 9 Стандарта государственной услуги «Выдача гарантийного обязательства (сертификата конечного пользователя)»;

процедура 11 - выдача работником Государственной корпорации результата оказания государственной услуги услугополучателю в срок, указанный в расписке на получение;

2) длительность обработки запроса услугополучателя в Государственной корпорации - не более 15 минут.

Диаграмма функционального взаимодействия информационных систем, задействованных в оказании государственной услуги при обращении в Государственную корпорацию, приведена в приложении 2 к настоящему регламенту.

11. Описание процесса получения результата оказания государственной услуги через Государственную корпорацию, его длительность:

1) способ получения результата оказания государственной услуги - нарочно в Государственной корпорации;

2) длительность процесса получения результата оказания государственной услуги - не более 15 минут;

3) порядок получения результата оказания государственной услуги:

процедура 1 - услугополучатель (либо его представитель по доверенности) на основании отрывного талона бланка заявления - расписки в указанный в нем срок с предъявлением документа, удостоверяющего его личность, обращается к работнику Государственной корпорации;

процедура 2 - работник Государственной корпорации принимает у услугополучателя расписку со штрих-кодом для сканирования штрих-кода на расписке;

процедура 3 - работник Государственной корпорации, с отметкой услугополучателя в получении, выдает ему результат оказания государственной услуги.

Не выданные в срок, по вине услугополучателя, документы в течение одного месяца хранятся в Государственной корпорации.

12. Описание порядка обращения и последовательности процедур (действий) услугодателя и услугополучателя при оказании государственной услуги через Портал.

1) Описание последовательности процедур (действий) услугодателя:

процедура 1 - ввод сотрудником услугодателя логина и пароля (процедура авторизации) в ИС ГБД ЕЛ для оказания государственной услуги;

условие 1 - проверка в ИС ГБД ЕЛ подлинности данных о зарегистрированном сотруднике услугодателя через логин и пароль;

процедура 2 - формирование ИС ГБД ЕЛ сообщения об отказе в авторизации в связи с имеющимися нарушениями в данных сотрудника услугодателя;

процедура 3 - выбор сотрудником услугодателя услуги, указанной в настоящем регламенте, вывод на экран формы запроса для оказания услуги и ввод сотрудником услугодателя данных услугополучателя;

процедура 4 - направление запроса через ШЭП в ГБД ЮЛ/ГБД ФЛ;

условие 2 - проверка наличия данных услугополучателя в ГБД ЮЛ/ГБД ФЛ;

процедура 5 - формирование сообщения о невозможности получения данных в связи с отсутствием данных услугополучателя в ГБД ЮЛ/ГБД ФЛ;

процедура 6 - заполнение формы запроса в части отметки о наличии документов в бумажной форме;

процедура 7 - регистрация запроса в ИС ГБД ЕЛ и обработка услуги в ИС ГБД ЕЛ;

процедура 8 - проверка услугодателем соответствия услугополучателя условиям и требованиям выдачи гарантийного обязательства (сертификата конечного пользователя);

процедура 9 - получение услугополучателем результата оказания государственной услуги;

2) описание порядка обращения и последовательности процедур (действий) услугополучателя:

процедура 1 - ввод услугополучателем пароля (процедура авторизации) на Портале для получения государственной услуги;

условие 1 - проверка на Портале подлинности данных о зарегистрированном услугополучателе через логин (индивидуальный идентификационный номер/бизнес-идентификационный номер) и пароль;

процедура 2 - формирование Порталом сообщения об отказе в авторизации в связи с имеющимися нарушениями в данных услугополучателя;

процедура 3 - выбор услугополучателем услуги, указанной в настоящем регламенте, вывод на экран формы запроса для оказания услуги и заполнение услугополучателем формы (ввод данных) с учетом ее структуры и форматных требований, прикреплением к форме запроса необходимых документов в электронном виде;

процедура 4 - выбор услугополучателем регистрационного свидетельства ЭЦП для удостоверения (подписания) запроса;

процедура 5 - удостоверение (подписание) посредством ЭЦП услугополучателя заполненной формы (введенных данных) запроса на оказание услуги;

процедура 6 - регистрация электронного документа (запроса услугополучателя) в ИС ГБД ЕЛ и обработка запроса в ИС ГБД ЕЛ;

процедура 7 - проверка услугодателем соответствия услугополучателя условиям и требованиям выдачи гарантийного обязательства (сертификата конечного пользователя);

процедура 8 - получение услугополучателем результата оказания государственной услуги.

Диаграмма функционального взаимодействия информационных систем, задействованных в оказании государственной услуги через услугодателя, и диаграмма функционального взаимодействия информационных систем, задействованных в оказании государственной услуги через услугополучателя, приведены в приложениях 3, 4 к настоящему регламенту.

 

 

Приложение 1
к регламенту государственной услуги
«Выдача гарантийного обязательства
(сертификата конечного пользователя)»

 

Описание последовательности процедур (действий) работников

 

 

Приложение 2
к регламенту государственной услуги
«Выдача гарантийного обязательства
(сертификата конечного пользователя)»

 

 

Диаграмма функционального взаимодействия информационных систем,

задействованных в оказании государственной услуги через

Государственную корпорацию

 

 

Приложение 3
к регламенту государственной услуги
«Выдача гарантийного обязательства
(сертификата конечного пользователя)»

 

Диаграмма функционального взаимодействия информационных систем,

задействованных в оказании государственной услуги через услугодателя

 

 

Приложение 4
к регламенту государственной услуги
«Выдача гарантийного обязательства
(сертификата конечного пользователя)»

 

Диаграмма функционального взаимодействия информационных систем,

задействованных в оказании государственной услуги через услугополучателя

 

 

Приложение 10

к приказу Министра индустрии
и инфраструктурного развития
Республики Казахстан
от 18 марта 2019 года № 138

Приложение 10
к приказу исполняющего
обязанности Министра
по инвестициям и развитию
Республики Казахстан
от 28 мая 2015 года № 619

 

Регламент государственной услуги
«Выдача заключения об отнесении товаров, технологий, работ, услуг, информации
к продукции, подлежащей экспортному контролю»

Глава 1. Общие положения

1. Государственная услуга оказывается Комитетом индустриального развития и промышленной безопасности Министерства индустрии и инфраструктурного развития Республики Казахстан (далее - услугодатель).

Прием заявлений и выдача результатов оказания государственной услуги осуществляется через веб-портал «электронного правительства» www.egov.kz или веб-портал «Е-лицензирование»: www.elicense.kz (далее - портал).

2. Форма оказания государственной услуги - электронная.

3. Результат оказания государственной услуги - заключение об отнесении товаров, технологий, работ, услуг, информации к продукции, подлежащей экспортному контролю.

Форма предоставления результата оказания государственной услуги: электронная.

 

 

Глава 2. Описание порядка действий структурных подразделений
(работников) услугодателя в процессе оказания государственной услуги

4. Основанием для начала процедуры (действия) по оказанию государственной услуги является получение услугодателем представленных услугополучателем документов, предусмотренных пунктом 9 Стандарта государственной услуги «Выдача заключения об отнесении товаров, технологий, работ, услуг, информации к продукции, подлежащей экспортному контролю», утвержденного приказом Министра по инвестициям и развитию Республики Казахстан от 30 апреля 2015 года № 563 «Об утверждении стандартов государственных услуг в области промышленности и экспортного контроля» (зарегистрирован в Реестре государственной регистрации нормативных правовых актов за № 11636).

5. Содержание каждой процедуры (действия), входящей в состав процесса оказания государственной услуги и длительность его выполнения:

1) при выдаче заключения об отнесении товаров, технологий, работ, услуг, информации к продукции, подлежащей экспортному контролю, за исключением заключений, подлежащих согласованию с государственными органами:

специалист канцелярии услугодателя в течение 15 минут регистрирует на портале заявление услугополучателя и направляет их руководителю Управления экспортного контроля и лицензирования (далее - Управление);

руководитель Управления в течение 15 минут рассматривает заявление и направляет для исполнения главному эксперту (эксперту) Управления;

главный эксперт (эксперт) Управления, в случае если услугополучателем представлен не полный пакет документов, необходимых для оказания государственной услуги, в срок не более 3 рабочих дней со дня получения представленных документов услугодателю, оформляет мотивированный отказ в дальнейшем рассмотрении заявления;

главный эксперт (эксперт) Управления, в срок 3 рабочих дней (за исключением заключений, подлежащих согласованию с государственными органами) рассматривает документы услугополучателя необходимые для оказания государственной услуги, на его соответствие условиям выдачи заключение об отнесении товаров, технологий, работ, услуг, информации к продукции, подлежащей экспортному контролю, подготавливает и вносит результат оказания государственной услуги на предварительное согласование руководителю Управления;

руководитель Управления в течение 15 минут согласовывает результат оказания государственной услуги;

руководитель услугодателя в течение 15 минут после согласования руководителя Управления подписывает результат оказания государственной услуги;

2) при выдаче заключения об отнесении товаров, технологий, работ, услуг, информации к продукции, подлежащей экспортному контролю, подлежащих согласованию с государственными органами:

специалист канцелярии услугодателя в течение 15 минут регистрирует на портале заявление услугополучателя и направляет их руководителю Управления экспортного контроля и лицензирования (далее - Управление);

руководитель Управления в течение 15 минут рассматривает заявление и направляет для исполнения главному эксперту (эксперту) Управления;

главный эксперт (эксперт) Управления, в случае если услугополучателем представлен не полный пакет документов, необходимых для оказания государственной услуги, в срок не более 3 рабочих дней со дня получения представленных документов услугодателю, оформляет мотивированный отказ в дальнейшем рассмотрении заявления;

главный эксперт (эксперт) Управления, при рассмотрении заключений, подлежащих согласованию с государственными органами, в срок 11 рабочих дней рассматривает документы услугополучателя, необходимые для оказания государственной услуги, на их соответствие условиям выдачи заключение об отнесении товаров, технологий, работ, услуг, информации к продукции, подлежащей экспортному контролю, подготавливает и вносит результат оказания государственной услуги на предварительное согласование руководителю Управления;

руководитель Управления в течение 15 минут согласовывает результат оказания государственной услуги;

руководитель услугодателя в течение 15 минут после согласования руководителя Управления подписывает результат оказания государственной услуги.

6. Результат процедуры (действия) по оказанию государственной услуги, который служит основанием для начала выполнения следующей процедуры (действия):

1) регистрация представленного заявления услугополучателя, необходимого для оказания государственной услуги, специалистом канцелярии услугодателя на портале и направление его руководителю Управления;

2) назначение задачи руководителем Управления главному эксперту (эксперту) Управления;

3) оформление главным экспертом (экспертом) Управления заключения об отнесении товаров, технологий, работ, услуг, информации к продукции, подлежащей экспортному контролю и передача его для подписания руководителю услугодателя;

4) выдача заключения об отнесении товаров, технологий, работ, услуг, информации к продукции, подлежащей экспортному контролю.

 

 

Глава 3. Описание порядка взаимодействия структурных подразделений
(работников) услугодателя в процессе оказания государственной услуги

7. Перечень структурных подразделений (работников) услугодателя, которые участвуют в процедуре оказания государственной услуги:

1) специалист канцелярии услугодателя;

2) руководитель услугодателя;

3) руководитель Управления;

4) главный эксперт (эксперт).

8. Описание последовательности процедур (действий) между структурными подразделениями (работниками) услугодателя:

1) при выдаче заключения об отнесении товаров, технологий, работ, услуг, информации к продукции, подлежащей экспортному контролю, за исключением заключений, подлежащих согласованию с государственными органами:

специалист канцелярии услугодателя в течение 15 минут регистрирует на портале заявление услугополучателя и направляет их руководителю Управления экспортного контроля и лицензирования (далее - Управление);

руководитель Управления в течение 15 минут рассматривает заявление и направляет для исполнения главному эксперту (эксперту) Управления;

главный эксперт (эксперт) Управления, в случае если услугополучателем представлен не полный пакет документов, необходимых для оказания государственной услуги, в срок не более 3 рабочих дней со дня получения представленных документов услугодателю, оформляет мотивированный отказ в дальнейшем рассмотрении заявления;

главный эксперт (эксперт) Управления, в срок 3 рабочих дней (за исключением заключений, подлежащих согласованию с государственными органами) рассматривает документы услугополучателя необходимые для оказания государственной услуги, на его соответствие условиям выдачи заключение об отнесении товаров, технологий, работ, услуг, информации к продукции, подлежащей экспортному контролю, подготавливает и вносит результат оказания государственной услуги на предварительное согласование руководителю Управления;

руководитель Управления в течение 15 минут согласовывает результат оказания государственной услуги;

руководитель услугодателя в течение 15 минут после согласования руководителя Управления подписывает результат оказания государственной услуги;

2) при выдаче заключения об отнесении товаров, технологий, работ, услуг, информации к продукции, подлежащей экспортному контролю, подлежащих согласованию с государственными органами:

специалист канцелярии услугодателя в течение 15 минут регистрирует на портале заявление услугополучателя и направляет их руководителю Управления экспортного контроля и лицензирования (далее - Управление);

руководитель Управления в течение 15 минут рассматривает заявление и направляет для исполнения главному эксперту (эксперту) Управления;

главный эксперт (эксперт) Управления, в случае если услугополучателем представлен не полный пакет документов, необходимых для оказания государственной услуги, в срок не более 3 рабочих дней со дня получения представленных документов услугодателю, оформляет мотивированный отказ в дальнейшем рассмотрении заявления;

главный эксперт (эксперт) Управления, при рассмотрении заключений, подлежащих согласованию с государственными органами, в срок 11 рабочих дней рассматривает документы услугополучателя, необходимые для оказания государственной услуги, на их соответствие условиям выдачи заключение об отнесении товаров, технологий, работ, услуг, информации к продукции, подлежащей экспортному контролю, подготавливает и вносит результат оказания государственной услуги на предварительное согласование руководителю Управления;

руководитель Управления в течение 15 минут согласовывает результат оказания государственной услуги;

руководитель услугодателя в течение 15 минут после согласования руководителя Управления подписывает результат оказания государственной услуги.

9. Описание последовательности процедур (действий) между структурными подразделениями (работниками) услугодателя приведены в блок-схеме взаимодействия структурных подразделений (работников) услугодателя согласно приложению 1 к настоящему Регламенту государственной услуги «Выдача заключения об отнесении товаров, технологий, работ, услуг, информации к продукции, подлежащей экспортному контролю».

 

 

4. Описание порядка использования информационных систем
в процессе оказания государственной услуги

10. Описание порядка обращения и последовательности процедур (действий) услугодателя и услугополучателя при оказании государственной услуги через Портал.

1) описание последовательности процедур (действий) услугодателя:

процедура 1 - ввод сотрудником услугодателя логина и пароля (процедура авторизации) в ИС ГБД ЕЛ для оказания государственной услуги;

условие 1 - проверка в ИС ГБД ЕЛ подлинности данных о зарегистрированном сотруднике услугодателя через логин и пароль;

процедура 2 - формирование ИС ГБД ЕЛ сообщения об отказе в авторизации в связи с имеющимися нарушениями в данных сотрудника услугодателя;

процедура 3 - выбор сотрудником услугодателя услуги, указанной в настоящем регламенте, вывод на экран формы запроса для оказания услуги и ввод сотрудником услугодателя данных услугополучателя;

процедура 4 - направление запроса через ШЭП в ГБД ЮЛ/ГБД ФЛ;

условие 2 - проверка наличия данных услугополучателя в ГБД ЮЛ/ГБД ФЛ;

процедура 5 - формирование сообщения о невозможности получения данных в связи с отсутствием данных услугополучателя в ГБД ЮЛ/ГБД ФЛ;

процедура 6 - заполнение формы запроса в части отметки о наличии документов в бумажной форме;

процедура 7 - регистрация запроса в ИС ГБД ЕЛ и обработка услуги в ИС ГБД ЕЛ;

процедура 8 - проверка услугодателем соответствия услугополучателя условиям и требованиям выдачи заключения;

процедура 9 - получение услугополучателем результата оказания государственной услуги;

2) описание порядка обращения и последовательности процедур (действий) услугополучателя:

процедура 1 - ввод услугополучателем пароля (процедура авторизации) на Портале для получения государственной услуги;

условие 1 - проверка на Портале подлинности данных о зарегистрированном услугополучателе через логин (индивидуальный идентификационный номер/бизнес-идентификационный номер) и пароль;

процедура 2 - формирование Порталом сообщения об отказе в авторизации в связи с имеющимися нарушениями в данных услугополучателя;

процедура 3 - выбор услугополучателем услуги, указанной в настоящем регламенте, вывод на экран формы запроса для оказания услуги и заполнение услугополучателем формы (ввод данных) с учетом ее структуры и форматных требований, прикреплением к форме запроса необходимых документов в электронном виде;

процедура 4 - выбор услугополучателем регистрационного свидетельства ЭЦП для удостоверения (подписания) запроса;

процедура 5 - удостоверение (подписание) посредством ЭЦП услугополучателя заполненной формы (введенных данных) запроса на оказание услуги;

процедура 6 - регистрация электронного документа (запроса услугополучателя) в ИС ГБД ЕЛ и обработка запроса в ИС ГБД ЕЛ;

процедура 7 - проверка услугодателем соответствия услугополучателя условиям и требованиям выдачи заключения;

процедура 8 - получение услугополучателем результата оказания государственной услуги.

Диаграмма функционального взаимодействия информационных систем, задействованных в оказании государственной услуги через услугодателя, и диаграмма функционального взаимодействия информационных систем, задействованных в оказании государственной услуги через услугополучателя, приведены в приложениях 2, 3 к настоящему регламенту.

 

 

Приложение 1
к регламенту государственной услуги
«Выдача заключения об отнесении
товаров, технологий, работ, услуг,
информации к продукции, подлежащей
экспортному контролю»

 

Справочник последовательности процедур (действий) работников

 

 

Приложение 2
к регламенту государственной услуги
«Выдача заключения об отнесении
товаров, технологий, работ, услуг,
информации к продукции, подлежащей
экспортному контролю»

 

Диаграмма функционального взаимодействия информационных систем,

задействованных в оказании государственной услуги через услугодателя

 

 

Приложение 3
к регламенту государственной услуги
«Выдача заключения об отнесении
товаров, технологий, работ, услуг,
информации к продукции, подлежащей
экспортному контролю»

 

Диаграмма функционального взаимодействия информационных систем,

задействованных в оказании государственной услуги через услугополучателя