О внесении изменения в постановление Правления Национального Банка Республики Казахстан от 31 июля 2017 года № 149 «Об утверждении регламентов государственных услуг Национального Банка Республики Казахстан»

Постановление Правления Национального Банка Республики Казахстан от 1 апреля 2019 года № 46

В целях совершенствования нормативных правовых актов Республики Казахстан Правление Национального Банка Республики Казахстан ПОСТАНОВЛЯЕТ:

1. Внести в постановление Правления Национального Банка Республики Казахстан от 31 июля 2017 года № 149 «Об утверждении регламентов государственных услуг Национального Банка Республики Казахстан» (зарегистрировано в Реестре государственной регистрации нормативных правовых актов под № 15685, опубликовано 27 сентября 2017 года в Эталонном контрольном банке нормативных правовых актов Республики Казахстан) следующее изменение:

регламент государственной услуги «Выдача информации о состоянии пенсионных накоплений (с учетом инвестиционного дохода) вкладчика (получателя) единого накопительного пенсионного фонда», утвержденный согласно приложению 43 к указанному постановлению, изложить в редакции согласно приложению к настоящему постановлению.

2. Управлению рисков (Избасаров А.О.) в установленном законодательством Республики Казахстан порядке обеспечить:

1) совместно с Юридическим департаментом (Сарсенова Н.В.) государственную регистрацию настоящего постановления в Министерстве юстиции Республики Казахстан;

2) в течение десяти календарных дней со дня государственной регистрации настоящего постановления направление его копии в бумажном и электронном виде на казахском и русском языках в Республиканское государственное предприятие на праве хозяйственного ведения «Республиканский центр правовой информации» для официального опубликования и включения в Эталонный контрольный банк нормативных правовых актов Республики Казахстан;

3) размещение настоящего постановления на официальном интернет-ресурсе Национального Банка Республики Казахстан после его официального опубликования;

4) в течение десяти рабочих дней после государственной регистрации настоящего постановления представление в Юридический департамент сведений об исполнении мероприятий, предусмотренных подпунктами 2), 3) настоящего пункта и пунктом 3 настоящего постановления.

3. Управлению по защите прав потребителей финансовых услуг и внешних коммуникаций (Терентьев А.Л.) обеспечить в течение десяти календарных дней после государственной регистрации настоящего постановления направление его копии на официальное опубликование в периодические печатные издания.

4. Контроль за исполнением настоящего постановления возложить на заместителя Председателя Национального Банка Республики Казахстан Абылкасымову М.Е.

5. Настоящее постановление вводится в действие по истечении десяти календарных дней после дня его первого официального опубликования.

Председатель Национального Банка

Е. Досаев

 

 

Приложение
к постановлению Правления
Национального Банка
Республики Казахстан
от 1 апреля 2019 года № 46

Приложение 43
к постановлению Правления
Национального Банка
Республики Казахстан
от 31 июля 2017 года № 149

Регламент государственной услуги «Выдача информации о состоянии пенсионных накоплений (с учетом инвестиционного дохода) вкладчика (получателя) единого накопительного пенсионного фонда»

Глава 1. Общие положения

1. Наименование услугодателя: акционерное общество «Единый накопительный пенсионный фонд».

Государственная услуга «Выдача информации о состоянии пенсионных накоплений (с учетом инвестиционного дохода) вкладчика (получателя) единого накопительного пенсионного фонда» оказывается акционерным обществом «Единый накопительный пенсионный фонд» (далее - услугодатель).

Прием заявлений и выдача результатов оказания государственной услуги осуществляется через:

1) услугодателя;

2) веб-портал «электронного правительства» (далее - портал).

2. Форма оказания государственной услуги: электронная (полностью автоматизированная) и (или) бумажная.

3. Результат оказания государственной услуги:

1) при личном обращении услугополучателя к услугодателю - получение у услугодателя информации о состоянии пенсионных накоплений вкладчика (получателя), оформленной в форме электронного документа, удостоверенного электронной цифровой подписью (далее - ЭЦП) уполномоченного лица услугодателя и распечатанного на бумажном носителе;

2) при обращении через портал - получение информации о состоянии пенсионных накоплений вкладчика (получателя) у услугодателя в форме электронного документа, удостоверенного ЭЦП уполномоченного лица услугодателя и направленного в «личный кабинет» услугополучателя.

Форма предоставления результата оказания государственной услуги: электронная.

Глава 2. Описание порядка действий структурных подразделений (работников) услугодателя в процессе оказания государственной услуги

4. Основание для начала процедуры (действия) по оказанию государственной услуги: представление услугополучателем для получения государственной услуги документов, предусмотренных пунктами 9, 10 стандарта государственной услуги «Выдача информации о состоянии пенсионных накоплений (с учетом инвестиционного дохода) вкладчика (получателя) единого накопительного пенсионного фонда», утвержденного постановлением Правления Национального Банка Республики Казахстан от 30 апреля 2015 года № 71, зарегистрированным в Реестре государственной регистрации нормативных правовых актов под № 11534 (далее - стандарт).

5. Сроки оказания государственной услуги указаны в пункте 4 стандарта.

6. Содержание каждой процедуры (действия), входящей в состав процесса оказания государственной услуги, длительность его выполнения, а также результат процедуры (действия) по оказанию государственной услуги, который служит основанием для начала выполнения следующей процедуры (действия) при обращении услугополучателя к услугодателю:

1) при личном обращении услугополучателя:

проверка оригинала представленного документа, удостоверяющего личность услугополучателя, поверенного лица, законного представителя услугополучателя, являющегося наследником в соответствии со свидетельством о праве на наследство по закону или по завещанию, на срок действия представленного документа;

2) при обращении поверенного лица:

проверка на правильность оформления и содержания оригинала или нотариально засвидетельствованных копий документов;

проверка полномочий поверенного лица, указанного в оригинале либо нотариально засвидетельствованной копии доверенности на получение информации о состоянии пенсионных накоплений, а также срока действия доверенности;

проверка соответствия фамилии, имени, отчества (при наличии) поверенного лица, указанных в оригинале либо нотариально засвидетельствованной копии доверенности - фамилии, имени, отчеству (при наличии), указанным в документе, удостоверяющем личность поверенного лица;

3) при обращении законного представителя: проверка соответствия фамилии, имени, отчества (при наличии) законного представителя, указанных в документе, удостоверяющем его личность, данным в документе, подтверждающем статус законного представителя;

4) при обращении услугополучателя, являющегося наследником в соответствии со свидетельством о праве на наследство по закону или по завещанию (оригинал или нотариально засвидетельствованная копия): проверка на соответствие реквизитов обратившегося лица, указанного в завещании либо свидетельстве о праве на наследство по закону или по завещанию (фамилия, имя, отчество (при наличии), дата рождения), реквизитам в оригинале документа, удостоверяющего его личность (фамилия, имя, отчество (при наличии), дата рождения);

5) проверка на соответствие:

реквизитов (фамилия, имя, отчество (при наличии), дата рождения и индивидуальный идентификационный номер (далее - ИИН) документа, удостоверяющего личность (оригинал) услугополучателя, данным автоматизированной информационной системы услугодателя (далее - АИС);

реквизитов умершего (фамилия, имя, отчество (при наличии), дата рождения), указанных в оригинале или нотариально засвидетельствованной копии свидетельства о смерти, и в оригинале или нотариально засвидетельствованной копии завещания либо свидетельства о праве на наследство по закону или по завещанию, реквизитам в АИС;

6) в случае соответствия данных и наличия открытого (действующего) индивидуального пенсионного счета (далее - ИПС) в АИС - распечатка выписки с ИПС, сформированной посредством АИС и удостоверенной ЭЦП уполномоченного лица услугодателя;

7) регистрация выписки с ИПС в журнале регистрации выписок с ИПС с заполнением всех предусмотренных граф и проставлением подписи услугополучателя, поверенного лица, законного представителя, услугополучателя, являющегося наследником в соответствии со свидетельством о праве на наследство по закону или по завещанию;

8) представление выписки с ИПС услугополучателю, поверенному лицу, законному представителю, услугополучателю, являющемуся наследником в соответствии со свидетельством о праве на наследство по закону или по завещанию.

Глава 3. Описание порядка взаимодействия структурных подразделений (работников) услугодателя в процессе оказания государственной услуги

7. Перечень структурных подразделений (работников) услугодателя, которые участвуют в процессе оказания государственной услуги:

1) филиалы услугодателя;

2) самостоятельные структурные подразделения услугодателя.

8. Описание последовательности процедур (действий) при обращении услугополучателя к услугодателю изложено согласно приложению 1 к настоящему регламенту государственной услуги.

Глава 4. Описание порядка использования информационных систем в процессе оказания государственной услуги

9. Описание порядка обращения и последовательности процедур (действий) услугодателя и услугополучателя при оказании государственной услуги через портал:

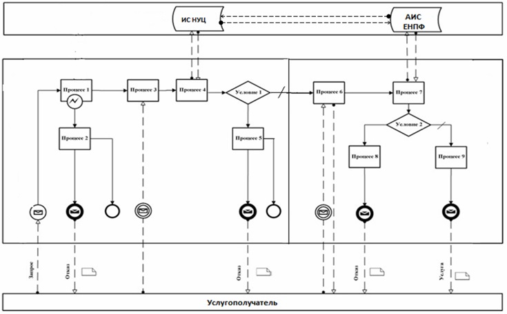
1) услугополучатель осуществляет регистрацию на портале (при первичном получении государственной услуги);

2) процесс 1 - осуществляется авторизация услугополучателя;

3) процесс 2 - формирование сообщения об отказе в авторизации в связи с имеющимися нарушениями в данных услугополучателя;

4) процесс 3 - выбор услугополучателем услуги, указанной в настоящем регламенте, а также выбор услугополучателем ключа ЭЦП либо одноразового пароля для удостоверения (подписания) запроса в случае регистрации и подключения абонентского номера услугополучателя, представленного оператором сотовой связи, к учетной записи портала;

5) процесс 4 - запрос идентификационных данных и данных о сроке действия регистрационного свидетельства ЭЦП услугополучателя в информационной системе «Национального удостоверяющего центра Республики Казахстан» (далее - ИС НУЦ) либо о наличии регистрации услугополучателя в базе мобильных граждан;

6) условие 1 - проверка срока действия регистрационного свидетельства ЭЦП и отсутствия в списке отозванных (аннулированных) регистрационных свидетельств, наличия в регистрационном свидетельстве соответствующих необходимых политик применения Национального удостоверяющего центра, а также соответствия идентификационных данных (между ИИН, фамилией, именем, отчеством (при наличии), указанным в запросе, и ИИН, фамилией, именем, отчеством (при наличии), указанным в регистрационном свидетельстве ЭЦП) либо проверка наличия регистрации услугополучателя в базе мобильных граждан;

7) процесс 5 - формирование сообщения об отказе в запрашиваемой услуге в связи с неподтверждением подлинности ЭЦП услугополучателя или несоответствия данных либо в связи с отсутствием регистрации услугополучателя в базе мобильных граждан;

8) процесс 6 - удостоверение (подписание) запроса посредством ЭЦП услугополучателя либо одноразовым паролем;

9) процесс 7 - запрос необходимых данных из ИС НУЦ и АИС;

10) условие 2 - проверка электронного документа на корректность ЭЦП, а также поступивших данных из ИС НУЦ и АИС;

11) процесс 8 - формирование сообщения об отказе в запрашиваемой услуге в связи с отсутствием и (или) несоответствием запрашиваемых данных услугополучателя в ИС НУЦ и (или) АИС;

12) процесс 9 - получение услугополучателем результата услуги, сформированного в АИС. Электронный документ формируется с использованием ЭЦП уполномоченного лица услугодателя.

10. Диаграмма функционального взаимодействия информационных систем, задействованных при оказании государственной услуги через портал, изложена согласно приложению 2 к настоящему регламенту государственной услуги.

11. Справочник бизнес-процессов оказания государственной услуги изложен согласно приложению 3 к настоящему регламенту государственной услуги.

Приложение 1

к регламенту государственной услуги
«Выдача информации о состоянии пенсионных накоплений
(с учетом инвестиционного дохода) вкладчика (получателя)
единого накопительного пенсионного фонда»
Описание последовательности процедур (действий)
при обращении услугополучателя к услугодателю

 

Приложение 2

к регламенту государственной услуги
«Выдача информации о состоянии пенсионных накоплений
(с учетом инвестиционного дохода) вкладчика (получателя)
единого накопительного пенсионного фонда»
Описание последовательности процедур (действий)
при обращении услугополучателя к услугодателю

 

 

 

Условные обозначения

 

Приложение 3

 регламенту государственной услуги
«Выдача информации о состоянии пенсионных накоплений
единого накопительного пенсионного фонда»
Описание последовательности процедур (действий)
при обращении услугополучателя к услугодателю